Operation CHARM: Car repair manuals for everyone.
Manuals through 2025 now available!

Our trusted friends have launched a new website named LEMON, which has newer manuals. It also contains all the CHARM manuals.

LEMON is the spiritual successor to CHARM, I recommend you try it!

Link: lemon-manuals.la or lemon-manuals.org.ua

(Some people have issue connecting. LEMON is investigating. For now, use Firefox or change your DNS server)

Or, hide this message: temporarily or permanently

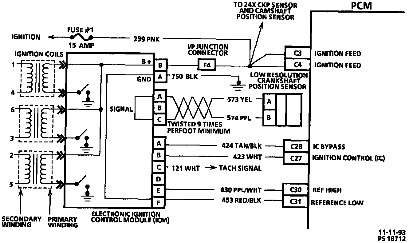
Ignition Control Module: Description and Operation

Electronic Ignition (EI) System With Ignition Control (IC):






The Ignition Control Module (ICM) performs several functions:

^ It powers the 3X crankshaft sensor circuit.
^ It determines the correct ignition coil firing sequence, based on 3X pulse. This coil sequencing occurs at Start-up. After the engine is running, the module determines the sequence, and continues triggering the ignition coils in proper sequence.
^ It sends a "3X crankshaft reference" (fuel control) signal to the PCM. The PCM determines engine RPM from this signal. It is also used by the Powertrain Control module (PCM) to determine crankshaft position for ignition control spark advance calculations. The signal sent to the PCM by the ICM is an "ON-OFF' pulse occurring 3 times per crankshaft revolution.