Operation CHARM: Car repair manuals for everyone.
Manuals through 2025 now available!

Our trusted friends have launched a new website named LEMON, which has newer manuals. It also contains all the CHARM manuals.

LEMON is the spiritual successor to CHARM, I recommend you try it!

Link: lemon-manuals.la or lemon-manuals.org.ua

(Some people have issue connecting. LEMON is investigating. For now, use Firefox or change your DNS server)

Or, hide this message: temporarily or permanently

- Powertrain/On-Board Diagnostic System Check

On-Board Diagnostic (OBD) Chart:




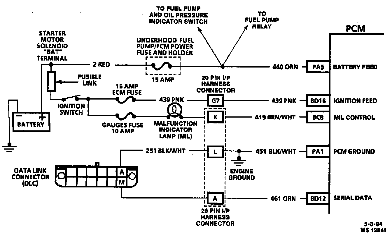
DLC And MIL Circuits:






CIRCUIT DESCRIPTION
The On-Board Diagnostic (OBD) system check is an organized approach to identifying a problem created by an electronic engine control system malfunction. It must be the starting point for any driveability complaint diagnosis, because it directs the service technician to the next logical step in diagnosing the complaint. Understanding the chart and using it correctly will reduce diagnostic time and prevent the unnecessary replacement of good parts.

CHART TEST DESCRIPTION
Number(s) below refer to circled number(s) on the diagnostic chart.

1. This checks for the proper operation of the Malfunction Indicator Lamp (MIL). The MIL should be "ON" steady.
2. No MIL at this point indicates that there is a problem with the MIL circuit or the Powertrain Control Module (PCM) control of that circuit.
3. Most of the procedures use a Tech 1 scan tool to aid diagnosis, therefore, serial data must be available.
4. Although the PCM is powered up, a "Cranks But Will Not Run" symptom could exist because of a PCM or system problem.
5. This checks the ability of the PCM to control the MIL. The Tech 1 has the capability of turning the MIL "ON" and "OFF" with the engine running only.
6. This will isolate if the customer complaint is a MIL or a driveability problem with no MIL. An invalid DTC may be the result of a faulty scan tool.
7. Comparison of actual control system data with the typical values is a quick check to determine if any parameter is not within limits. Keep in mind that a base engine problem (i.e., advanced cam timing) may substantially alter sensor values.
8. Installation of a Tech 1 scan tool will provide a good ground path for the PCM and may hide a driveability complaint due to poor PCM grounds.
9. If the actual data is not within the typical values established, the C-Charts in Diagnostic Charts will provide a functional check of the suspect component or system.