Operation CHARM: Car repair manuals for everyone.
Manuals through 2025 now available!

Our trusted friends have launched a new website named LEMON, which has newer manuals. It also contains all the CHARM manuals.

LEMON is the spiritual successor to CHARM, I recommend you try it!

Link: lemon-manuals.la or lemon-manuals.org.ua

(Some people have issue connecting. LEMON is investigating. For now, use Firefox or change your DNS server)

Or, hide this message: temporarily or permanently

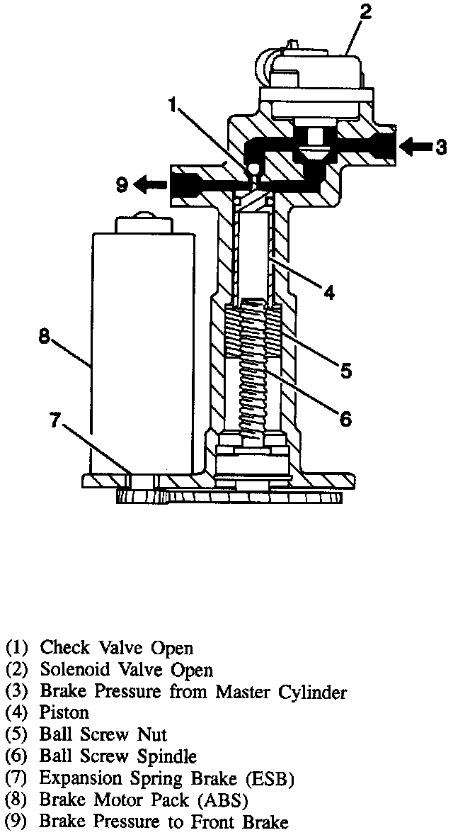
ABS Modulator Fluid Flow






Each front channel consists of a motor, solenoid, Expansion Spring Brake (ESB), ball screw, piston, and check valve. As illustrated, under normal operating conditions (base brakes), the piston is held in the upmost (or home) position and the solenoid is open (not energized). This is accomplished by turning the ball screw via the motor to drive the nut upwards. Once at the upmost position, the piston is held by an ESB.

Two paths are available to transfer braking pressure to the TCS modulator:
1. Through the modulator, around the check valve, and out to the TCS modulator, or
2. Through the modulator, past the normally open solenoid, and out to the TCS modulator.

The solenoids in the front circuits provides an alternate brake pressure path to the TCS modulator. With this arrangement, if the Antilock Brake System (ABS) were to lose power or malfunction with the piston not in its home position, a redundant brake fluid path is available. The rear channels operate in a similar manner except no solenoid exists, and the fluid flows directly away from the ABS modulaotr to the rear wheels.