Electronic Brake Control Module: Service and Repair
REMOVAL PROCEDURE
CAUTION: Do not pry EBCM/EBTCM. Be careful not to damage seal (if reusing module). If seal is damaged during removal, repair damaged area using GM P/N 123456739 silicone sealer or replace EBCM/EBTCM
IMPORTANT: You cannot repair the EBCM/EBTCM.If the assembly is faulty, replace the EBCM/EBTCM as an assembly.
1. Turn the ignition switch to the OFF position.
2. Remove the air cleaner assembly and the Powertrain Control Module (PCM) cover.
3. Remove the EBCM/EBTCM harness connector.
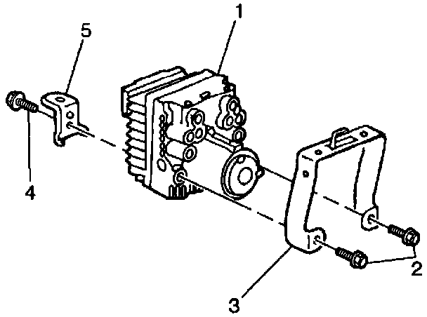
4. Remove the front EBCM/EBTCM bracket from the vehicle (3).
5. Remove the EBCM/EBTCM center bracket mounting bolt (4).
6. Remove the four EBCM/EBTCM to Brake Pressure Modulator Valve (BPMV) bolts (1).
7. Remove the EBCM/EBTCM by pulling rearward until the internal connector disengages (2). Do not twist the assembly.
INSTALLATION PROCEDURE
NOTICE: Be sure to reconnect all harness retaining clips that may have been disconnected during the removal procedure in their original positions. Then perform a visual inspections of the entire harness checking to make sure all retaining clips are properly connected.
IMPORTANT: When replacing the EBCM/EBTCM, you must recalibrate the Magnasteer(TM). Refer to Steering Controls in Diagrams.
1. Clean the EBCM/EBTCM seal and BPMV gasket surface with alcohol.
^ Tighten the four EBCM/EBTCM to BPMV bolts (1) to 4.5 Nm (40 ft. lbs.).
NOTICE: Refer to Fastener Notice in Caution and Notices.
2. Install the front EBCM/EBTCM bracket (3).
^ Tighten the EBCM/EBTCM center bracket mounting bolt (2) to 14 Nm (10 ft. lbs.).
3. Install the EBCM/EBTCM harness connector.
4. Install the air cleaner assembly and the PCM cover.
5. Turn the ignition switch to the RUN position, engine off.
6. Perform the Diagnostic System Check. Refer to "ABS Diagnostic System Check" in Antilock Brake System.