Operation CHARM: Car repair manuals for everyone.
Manuals through 2025 now available!

Our trusted friends have launched a new website named LEMON, which has newer manuals. It also contains all the CHARM manuals.

LEMON is the spiritual successor to CHARM, I recommend you try it!

Link: lemon-manuals.la or lemon-manuals.org.ua

(Some people have issue connecting. LEMON is investigating. For now, use Firefox or change your DNS server)

Or, hide this message: temporarily or permanently

Starter Motor: Service and Repair

REMOVAL PROCEDURE

CAUTION:
^ Refer to SIR Handling Caution in Cautions and Notices.
^ Refer to Battery Disconnect Caution in Cautions and Notices.


IMPORTANT: The starter motor on this vehicle is not serviceable and must be replaced as a complete unit.




1. Disconnect the battery ground (negative) cable.
2. Raise and suitably support the vehicle.
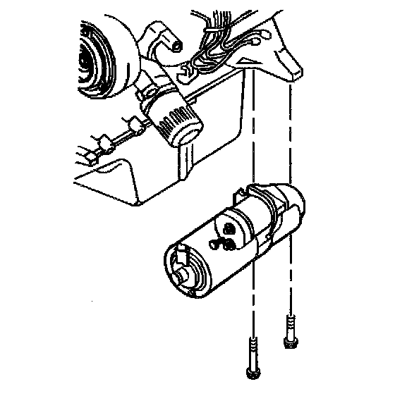
3. Disconnect the electrical connections (4, 7, 8) at the starter motor.




4. Remove the torque converter cover.




5. Remove the starter bolts and the starter motor. Remove the shims, as needed.

INSTALLATION PROCEDURE



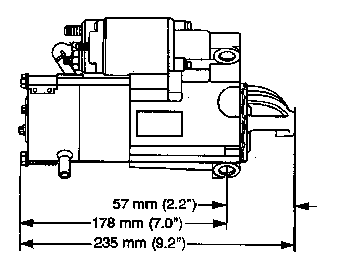
The 3800 L36 (VIN K) uses a PG260 F2 starter motor.




The 3800 L67 (VIN 1) uses a PG260 M starter motor.




1. Verify the correct starter motor is being installed. Install any removed shims and the starter motor to the engine.

NOTE: Refer to Fastener Notice in Cautions and Notices.

2. Install the starter bolts.

Tighten
Tighten the starter bolts to 43 N.m (32 lb ft).




3. Install the torque converter cover.




4. Install the electrical connections and the nuts to the starter motor.

Tighten
^ Tighten the starter solenoid switch BAT terminal nut (6) to 10 N.m (89 lb in).
^ Tighten the starter solenoid switch S terminal nut (5) to 3 N.m (27 lb in).

5. Lower the vehicle.
6. Connect the battery ground (negative) cable.