Operation CHARM: Car repair manuals for everyone.
Manuals through 2025 now available!

Our trusted friends have launched a new website named LEMON, which has newer manuals. It also contains all the CHARM manuals.

LEMON is the spiritual successor to CHARM, I recommend you try it!

Link: lemon-manuals.la or lemon-manuals.org.ua

(Some people have issue connecting. LEMON is investigating. For now, use Firefox or change your DNS server)

Or, hide this message: temporarily or permanently

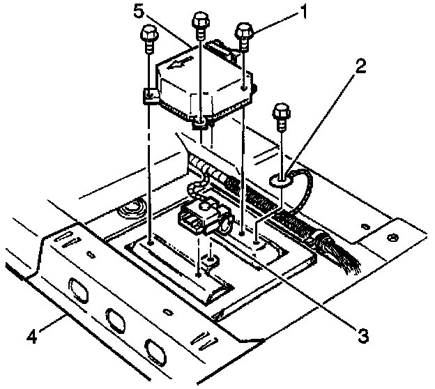
Installation Procedure

Description:






1. Install the SDM (5) to the floor sheetmetal (4).
2. Install the SDM mounting fasteners (1).

NOTICE: Refer to Fastener Notice in Vehicle Damage Warnings.

Tighten
Tighten fasteners to 9 N.m (80 lb. in).

Description:






3. Install the SDM harness connector (2) to the SDM (1).

Description:






4. Install the Connector Position Assurance (CPA) (3) to the SDM harness (2) connector.
5. Install the sill plate (RH).
6. Install the passenger front seat.
7. Enable the SIR system. Refer to Enabling the SIR System.