Manuals through 2025 now available!
Our trusted friends have launched a new website named LEMON, which has newer manuals. It also contains all the CHARM manuals.
LEMON is the spiritual successor to CHARM, I recommend you try it!
Link:
lemon-manuals.la or
lemon-manuals.org.ua
(Some people have issue connecting. LEMON is investigating. For now, use Firefox or change your DNS server)
Or, hide this message:
temporarily or
permanently
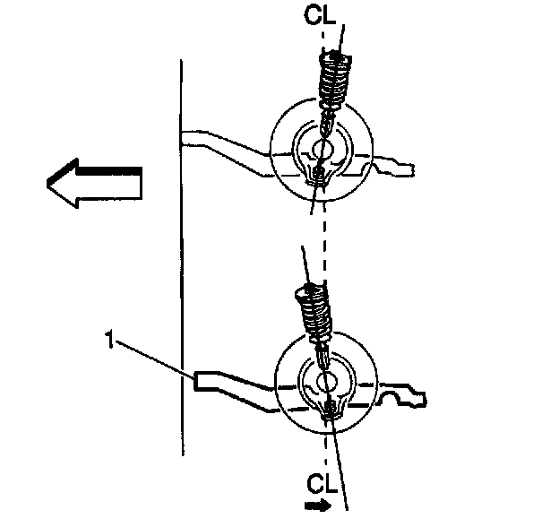
Setback Description
Setback applies to both the front and the rear
wheels. Setback is the amount that one wheel spindle may be aligned behind the other wheel spindle. In the illustration, the left side frame (1) is moved toward the rear, causing a misalignment. Setback may be the result of a road hazard or a collision. The first clue is a caster difference from side-to-side of more than one degree.