Operation CHARM: Car repair manuals for everyone.
Manuals through 2025 now available!

Our trusted friends have launched a new website named LEMON, which has newer manuals. It also contains all the CHARM manuals.

LEMON is the spiritual successor to CHARM, I recommend you try it!

Link: lemon-manuals.la or lemon-manuals.org.ua

(Some people have issue connecting. LEMON is investigating. For now, use Firefox or change your DNS server)

Or, hide this message: temporarily or permanently

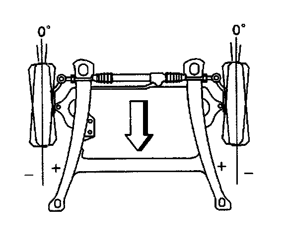
Front Wheel Toe Adjustment





1. Loosen the lock nuts on the tie rod.

Notice: Refer to Fastener Notice in Service Precautions.

Notice: Care must be taken that the boots are not twisted when rotating the inner tie rods, or damage to the boots may result.

2. Rotate the inner tie rod to adjust the toe.
Tighten the lock nuts to 64 Nm (47 ft. lbs.).
3. Adjust the boots as needed in order to prevent damage.