Operation CHARM: Car repair manuals for everyone.
Manuals through 2025 now available!

Our trusted friends have launched a new website named LEMON, which has newer manuals. It also contains all the CHARM manuals.

LEMON is the spiritual successor to CHARM, I recommend you try it!

Link: lemon-manuals.la or lemon-manuals.org.ua

(Some people have issue connecting. LEMON is investigating. For now, use Firefox or change your DNS server)

Or, hide this message: temporarily or permanently

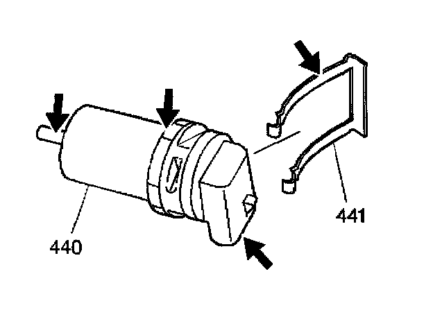
Input Speed Sensor

Input Speed Sensor Replacement
Removal Procedure





1. Remove the case side cover.
2. Disconnect the input speed sensor (ISS) electrical connector.
3. Remove the ISS clip (441) from the case cover.
4. Remove the ISS (440) from the case cover.





5. Inspect the ISS (440) for the following conditions:
^ Damaged or missing magnet
^ Damaged housing
^ Bent or missing electrical terminals
^ Damaged speed sensor clip (441)

Installation Procedure





1. Install the ISS (440) into the case cover.
2. Install the ISS clip (441) into the case cover.
3. Connect the ISS electrical connector.
4. Install the case side cover.