Operation CHARM: Car repair manuals for everyone.
Manuals through 2025 now available!

Our trusted friends have launched a new website named LEMON, which has newer manuals. It also contains all the CHARM manuals.

LEMON is the spiritual successor to CHARM, I recommend you try it!

Link: lemon-manuals.la or lemon-manuals.org.ua

(Some people have issue connecting. LEMON is investigating. For now, use Firefox or change your DNS server)

Or, hide this message: temporarily or permanently

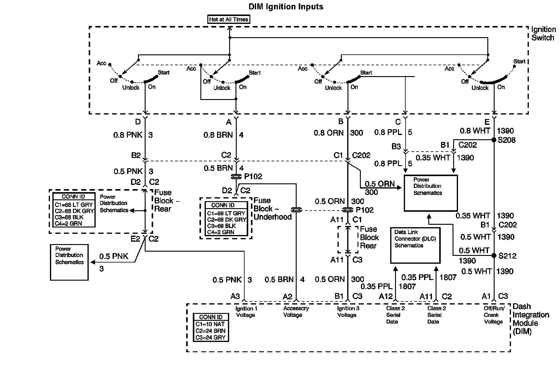
Body Control Systems

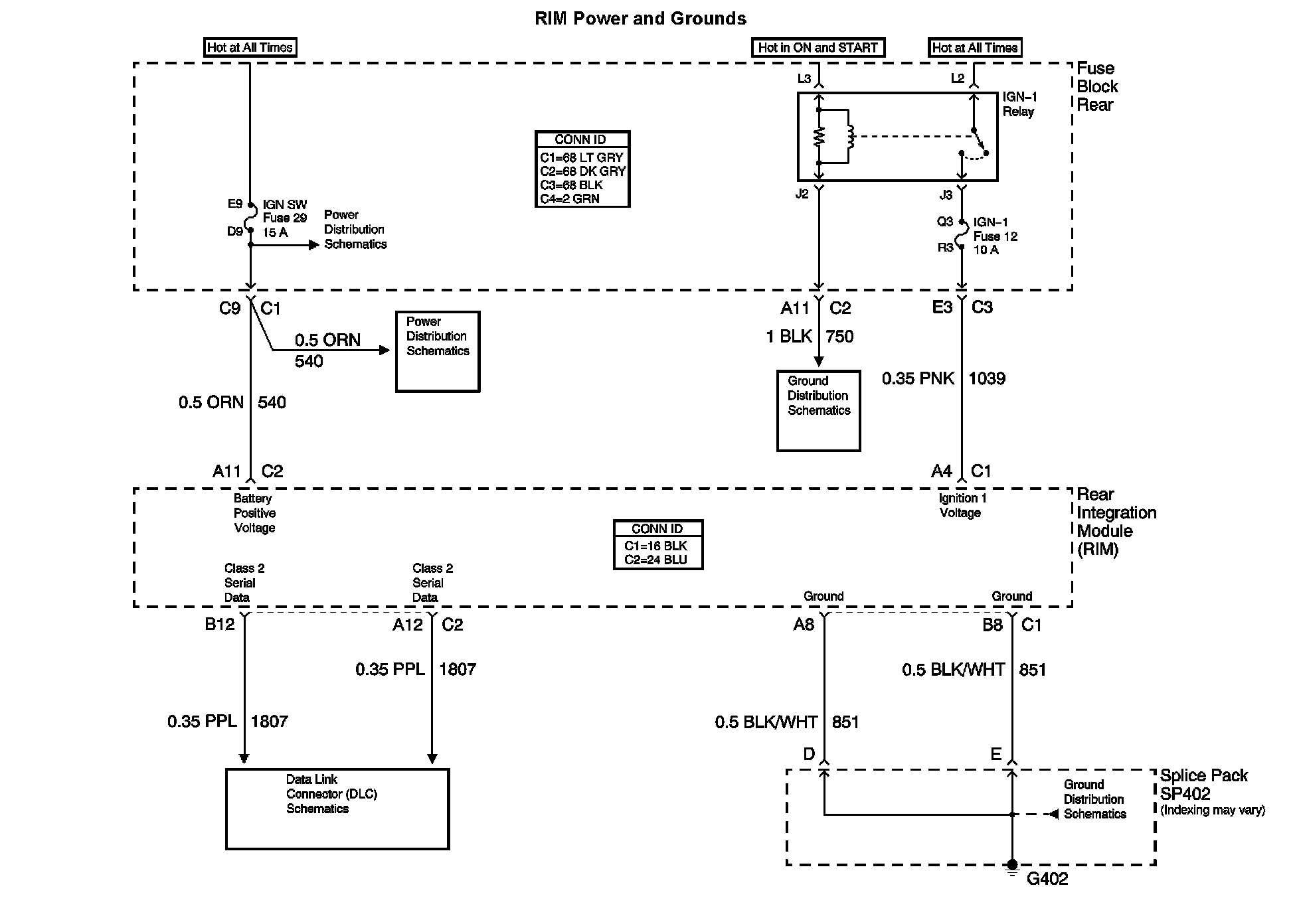
Body Control Systems Diagram 1:




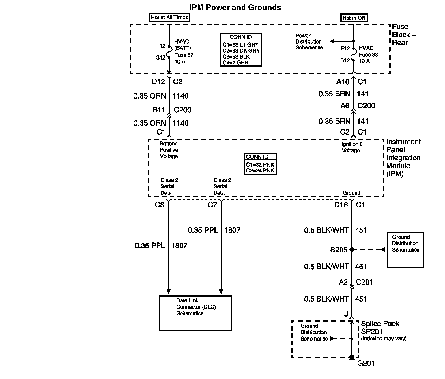
Body Control Systems Diagram 2:




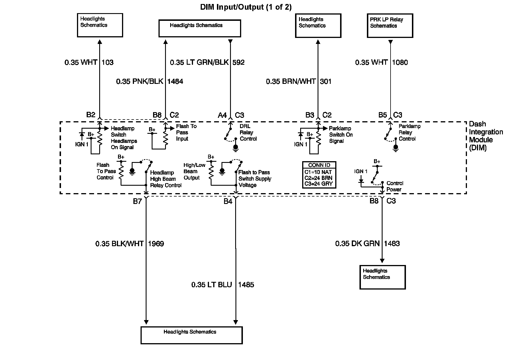
Body Control Systems Diagram 3(1 Of 2):




Body Control Systems Diagram 3(2 Of 2):




Body Control Systems Diagram 4:




Body Control Systems Diagram 5(1 Of 2):




Body Control Systems Diagram 5(2 Of 2):




Body Control Systems Diagram 6:




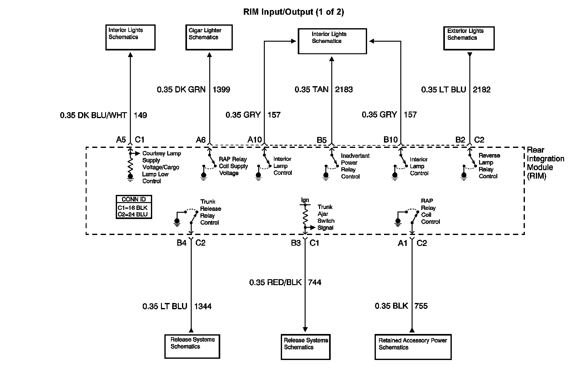
Body Control Systems Diagram 7(1 Of 2):




Body Control Systems Diagram 7(2 Of 2):