Operation CHARM: Car repair manuals for everyone.
Manuals through 2025 now available!

Our trusted friends have launched a new website named LEMON, which has newer manuals. It also contains all the CHARM manuals.

LEMON is the spiritual successor to CHARM, I recommend you try it!

Link: lemon-manuals.la or lemon-manuals.org.ua

(Some people have issue connecting. LEMON is investigating. For now, use Firefox or change your DNS server)

Or, hide this message: temporarily or permanently

Lock Replacement - Front Door

LOCK REPLACEMENT - FRONT DOOR

REMOVAL PROCEDURE
1. Remove the front door water deflector.




2. Disconnect the front door inside handle rods.
3. Disconnect the front door inside handle rods from the front door inside rod block.




4. Disconnect the front door outside handle rods.




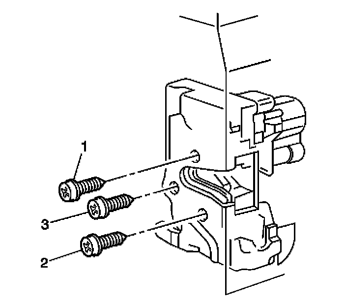
5. Remove the front door lock screws (1, 2, 3).
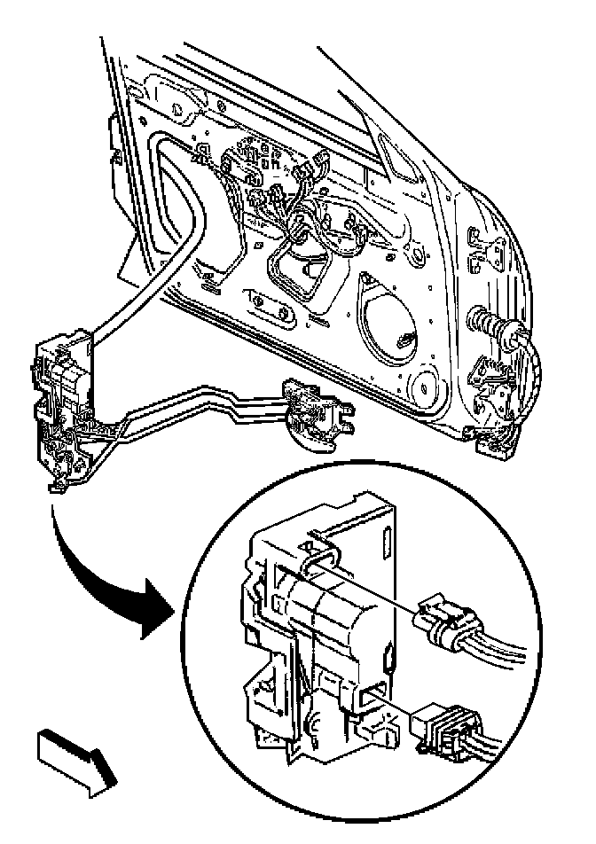
6. Remove the front door lock from inside the front door.




7. Disconnect the front door lock electrical connectors.
8. Remove the front door inside handle rods from the front door lock.

INSTALLATION PROCEDURE




1. Install the front door inside handle rods to the front door lock.
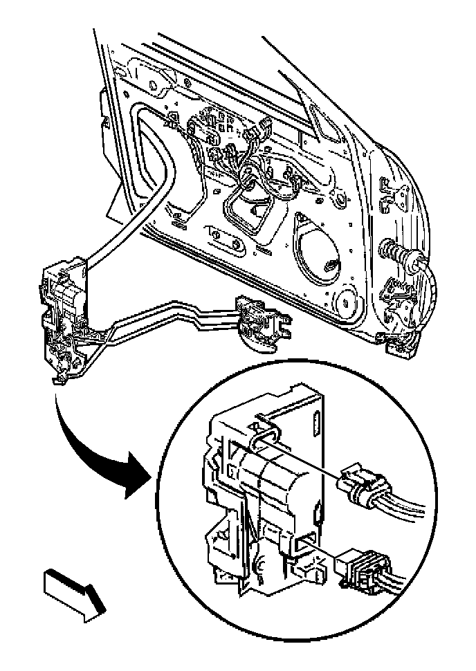
2. Connect the front door lock electrical connectors.
3. Position the front door lock into the front door.




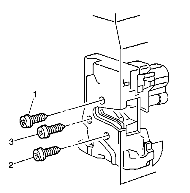
4. Apply Lock(R) Blue GM P/N 12345382, or Canadian P/N 10953489, or equivalent prior to installing the front door lock screws.
5. Install the front door lock screws in the correct fastener tightening sequence (top, bottom, middle, 1, 2, 3).

NOTE: Refer to Fastener Notice in Service Precautions.

Tighten
Tighten the screws to 10 N.m (89 lb in).




6. Connect the front door outside handle rods.




7. Connect the front door inside handle rods.
8. Connect the front door inside handle rods to the front door inside rod block.
9. Install the front door water deflector.