Operation CHARM: Car repair manuals for everyone.
Manuals through 2025 now available!

Our trusted friends have launched a new website named LEMON, which has newer manuals. It also contains all the CHARM manuals.

LEMON is the spiritual successor to CHARM, I recommend you try it!

Link: lemon-manuals.la or lemon-manuals.org.ua

(Some people have issue connecting. LEMON is investigating. For now, use Firefox or change your DNS server)

Or, hide this message: temporarily or permanently

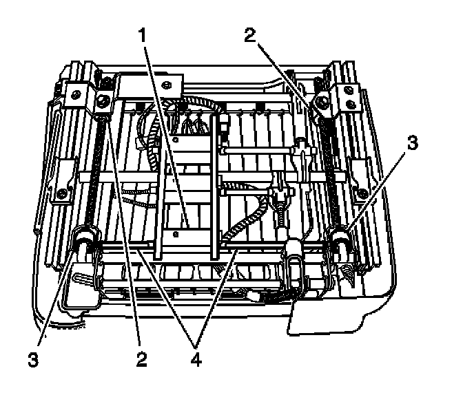
Drive Cable Replacement - Horizontal

DRIVE CABLE REPLACEMENT - HORIZONTAL

REMOVAL PROCEDURE
1. If the system is equipped with a driver side air bag, disable the SIR system.




2. Remove the front seat bolts.
3. Tip the seat forward and disconnect the electrical connector from the seat electrical harness.
4. Disengage the seat hook attachments from the floor pan.




5. Tip the seat rearward to expose the horizontal drive cables (4).
6. Bend the long flexible cable at the center and pull the cable out of the motor (1) and the drive screw (3).

IMPORTANT: The short cable is not replaceable.

7. Remove the cable from the vehicle.

INSTALLATION PROCEDURE




1. Insert the end of one cable (4) into the drive screw (3).
2. Bend the cable and insert the other end into the motor (1).
3. Connect the electrical connector to the seat wire harness and test the seat for proper operation.

IMPORTANT: Examine all 4 drive cables to ensure that the cables are straight.

4. Examine the horizontal drive cables for synchronization.




5. Tip the seat forward and engage the seat hook attachments to the floor pan.
6. Install the bolts that secure the adjuster to the floor pan.

NOTE: Refer to Fastener Notice in Service Precautions.

Tighten
Tighten the bolts to 42 N.m (31 lb ft).

7. Enable the SIR system.