Operation CHARM: Car repair manuals for everyone.
Manuals through 2025 now available!

Our trusted friends have launched a new website named LEMON, which has newer manuals. It also contains all the CHARM manuals.

LEMON is the spiritual successor to CHARM, I recommend you try it!

Link: lemon-manuals.la or lemon-manuals.org.ua

(Some people have issue connecting. LEMON is investigating. For now, use Firefox or change your DNS server)

Or, hide this message: temporarily or permanently

Aspirator: Service and Repair

ASPIRATOR REPLACEMENT

REMOVAL PROCEDURE
1. Remove the instrument panel trim pad.
2. Remove the passenger side SIR inflator module.
3. Remove the brake pedal.
4. Remove the bolts from the steering column support bracket and remove the bracket.




5. Remove the screws from the right and left side air distribution ducts.
6. Remove the air distribution ducts.




7. Remove the bolts from the relay bracket and position the relay bracket aside.




8. Remove the bolts from the BCM bracket and position the BCM bracket aside.
9. Release the wiring harness retaining clips from the cross vehicle beam and position the wiring harness aside.
10. Remove the two screws below the fuse block that hold the main harness connector to the cross vehicle beam.




11. Remove the bolts from the center support bracket of the HVAC module.
12. Remove the center support bracket of the HVAC module.




13. Remove the bolts from the upper support brackets of the HVAC module.




14. Remove the bolts which secure the left cross vehicle beam to the hinge pillar.




15. Remove the bolts which secure the right cross vehicle beam to the hinge pillar.




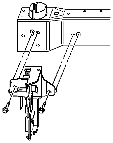
16. Remove the bolt (1) from the cross vehicle beam.
17. Remove the cross vehicle beam from the vehicle.




18. Remove the retaining screws (1) from the air distribution case cover.
19. Remove the air distribution case cover (2).




20. Pull the aspirator up and out of the HVAC module assembly.
21. Remove the aspirator hose from the aspirator.

INSTALLATION PROCEDURE




1. Install the aspirator hose to the aspirator.
2. Install the aspirator into the case.




3. Install the air distribution case cover (2).
4. Install the air distributor cover retaining screws (1).

NOTE: Refer to Fastener Notice in Service Precautions.

Tighten
Tighten the screws to 1.5 N.m (13 lb in).




5. Install the cross vehicle beam to the vehicle.




6. Install the bolts which secure the right cross vehicle beam to the hinge pillar. Tighten the bolts finger tight.




7. Install the bolts which secure the left cross vehicle beam to the hinge pillar. Tighten the bolts finger tight.

Tighten
Tighten all the bolts to 20 N.m (15 lb ft).




8. Install the bolt (1) to the cross vehicle beam.

Tighten
Tighten the bolt to 20 N.m (15 lb ft).




9. Install the bolts to the upper support brackets of the HVAC module.

Tighten
Tighten the bolts to 10 N.m (89 lb in).




10. Install the center support bracket to the HVAC module.
11. Install the bolts to the center support bracket of the HVAC module.

Tighten
Tighten the bolts to 10 N.m (89 lb in).

12. Install the instrument panel wiring harness on to the cross vehicle beam and secure the retaining clips.
13. Install the two screws below the fuse block that hold the main wire harness connector to the cross vehicle beam.




14. Install the BCM bracket and the bolts.

Tighten
Tighten the bolts to 10 N.m (89 lb in).




15. Install the relay bracket and the bolts.

Tighten
Tighten the bolts to 10 N.m (89 lb in).




16. Install the right and left side air distribution duct bolts.

Tighten
Tighten the bolts to 1.5 N.m (13 lb in).




17. Install the support bracket for the steering column.

Tighten
Tighten the bolts to 50 N.m (37 lb ft).

18. Install the brake pedal.
19. Install the passenger side SIR inflator module.
20. Install the instrument panel trim pad.