Operation CHARM: Car repair manuals for everyone.
Manuals through 2025 now available!

Our trusted friends have launched a new website named LEMON, which has newer manuals. It also contains all the CHARM manuals.

LEMON is the spiritual successor to CHARM, I recommend you try it!

Link: lemon-manuals.la or lemon-manuals.org.ua

(Some people have issue connecting. LEMON is investigating. For now, use Firefox or change your DNS server)

Or, hide this message: temporarily or permanently

Global Positioning System Module: Service and Repair

COMMUNICATION INTERFACE MODULE REPLACEMENT

REMOVAL PROCEDURE

IMPORTANT: The vehicle communication interface module (VCIM) has a specific set of unique numbers that tie the module to each vehicle. These numbers, the 10-digit station identification and the 11-digit electronic serial number, are used by the National Cellular Network and OnStar to identify the specific vehicle. Because these numbers are tied to the vehicle identification number of the vehicle, you must never exchange these parts with those of another vehicle.




1. Open the rear compartment.
2. Remove the communication interface module cover.




3. Remove the bracket nuts from the communication interface module.
4. Adjust the assembly for access.




5. Disconnect the cellular antenna cable from the communication interface module.
6. Disconnect the electrical connectors from the module.
7. Disconnect the GPS antenna cable from the module.




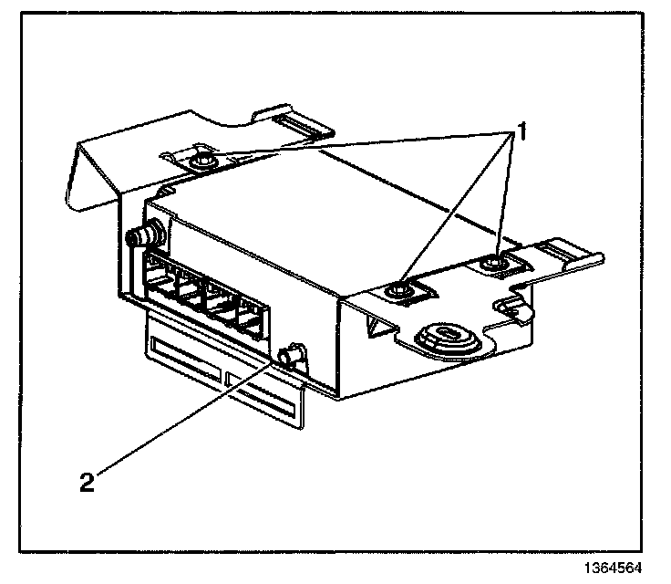
8. Remove the bolts (1) from the communication interface module.
9. Remove the communication interface module (2).

INSTALLATION PROCEDURE




1. Record the 11-digit electronic serial number (ESN) and the 10-digit station identification (STID) number from the label on the new VCIM.
2. Position the communication interface module to the bracket (2).

NOTE: Refer to Fastener Notice in Service Precautions.

3. Install the bolts (1) to the communication interface module.

Tighten
Tighten the bolts to 10 N.m (89 lb in).

4. Connect the GPS antenna cable to the module.




5. Connect the electrical connectors to the module.
6. Connect the cellular antenna cable to the module.

IMPORTANT: After replacing the communication interface module, you must reconfigure the OnStar(R) system. Failure to reconfigure the system will result in an additional customer visit for repair.

7. Reconfigure the OnStar(R) system. Refer to OnStar Reconfiguration.




8. Position the assembly to the studs.
9. Install the bracket nuts to the communication interface module.

Tighten
Tighten the nuts to 4 N.m (35 lb in).




10. Install the communication interface module cover.
11. Close the rear compartment.