Operation CHARM: Car repair manuals for everyone.
Manuals through 2025 now available!

Our trusted friends have launched a new website named LEMON, which has newer manuals. It also contains all the CHARM manuals.

LEMON is the spiritual successor to CHARM, I recommend you try it!

Link: lemon-manuals.la or lemon-manuals.org.ua

(Some people have issue connecting. LEMON is investigating. For now, use Firefox or change your DNS server)

Or, hide this message: temporarily or permanently

Engine Lubrication


Oil Pump

Oil Pump - First Design:





151 - Lower Primary Timing Chain Guide
154 - Lower Primary Timing Chain Guide Bolt
463 - Oil Pump Housing
464 - Oil Pump Cover
465 - Oil Pump Driven Gear
466 - Oil Pump Drive Gear
468 - Oil Pump Cover Bolt
470 - Oil Pressure Relief Valve Bore Plug
471 - Oil Pressure Relief Valve Spring
472 - Oil Pressure Relief Valve
474 - Oil Pressure Relief Valve Bore Plug Retainer Clip
475 - Oil Pump Bolt

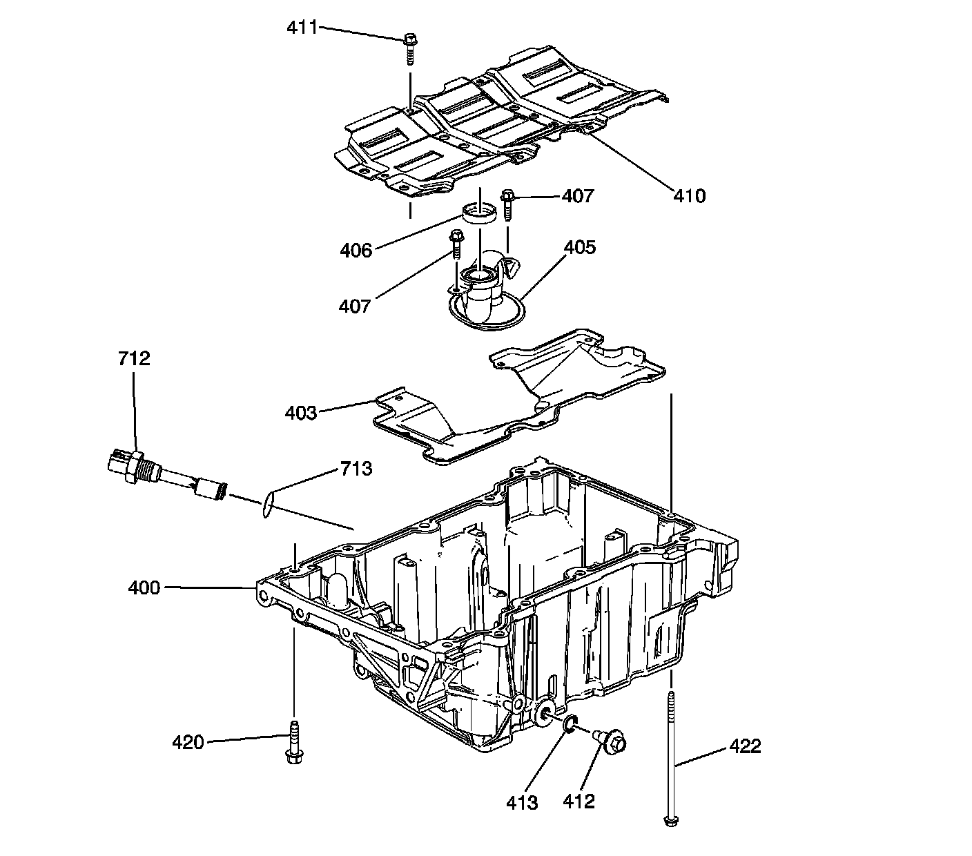
Oil Pan Assembly





400 - Oil Pan
403 - Oil Pan Baffle
405 - Oil Pump Suction Pipe
406 - Oil Pump Suction Pipe Gasket
407 - Oil Pump Suction Pipe Bolt
407 - Oil Pump Suction Pipe Bolt
410 - Oil Pan Baffle Scraper
411 - Oil Pan Baffle Scraper Bolt
412 - Oil Pan Drain Plug
413 - Oil Pan Drain Plug O-ring
420 - Oil Pan Bolt
422 - Oil Pan Bolt - Long
712 - Engine Oil Level Sensor
713 - Engine Oil Level Sensor O-ring

Oil Filter Adapter

Oil Filter Adapter:





440 - Oil Filter Adapter
441 - Oil Filter Adapter Gasket
442 - Oil Filter Adapter Bolt
443 - Oil Filter Adapter Bolt - Long
445 - Oil Filter Fitting
446 - Oil Filter Bypass Valve
449 - Oil Filter
728 - Engine Oil Pressure Sensor
729 - Engine Oil Pressure Sensor O-ring