Operation CHARM: Car repair manuals for everyone.
Manuals through 2025 now available!

Our trusted friends have launched a new website named LEMON, which has newer manuals. It also contains all the CHARM manuals.

LEMON is the spiritual successor to CHARM, I recommend you try it!

Link: lemon-manuals.la or lemon-manuals.org.ua

(Some people have issue connecting. LEMON is investigating. For now, use Firefox or change your DNS server)

Or, hide this message: temporarily or permanently

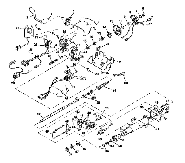
Steering Column



Steering Column Disassembled View

Tilt Steering Column





1 - Upper Trim Cover
2 - Lower Trim Cover
3 - Shift Lever Assembly
4 - Shift Lever Screw
5 - Shift Lever Seal
6 - Flanged Prevail Torque Nut
7 - Retaining Ring
8 - SIR Coil
9 - Wave Washer
10 - Bearing Retainer
11 - Shaft Lock Shield Assembly
12 - Turn Signal Cancel Cam Assembly
13 - Upper Bearing Spring
14 - Upper Bearing Inner Race Seat
15 - Inner Race
16 - Pan Head Tapping Screws
17 - TORX� Head Screw
18 - Ignition Lock Cylinder Case Assembly
19 - Pan Head Tapping Screw
20 - Theft Deterrent Control Module
21 - Tapping Screws
22 - Ignition Switch Assembly
23 - Fused Jumper Assembly
24 - Steering Column Tilt Head Assembly
25 - Spring Guide
26 - Tilt Spring
27 - Pan Head Tapping Screws
28 - Trim Cover Protector
29 - Wire Harness Strap
30 - Pan Head Tapping Screws
31 - Turn Signal and Multifunction Switch Assembly
32 - Wire Harness Straps
33 - Tilt Knob
34 - Race and Upper Shaft Assembly
35 - Centering Sphere
36 - Joint Preload Spring
37 - Lower Steering Shaft Assembly
38 - Linear Shift Assembly
39 - Shift Lever Clevis
40 - Oval Head 6�Lobed Socket Tap Screws
41 - Cable Shift Cam Assembly
42 - Ball and Actuator Assembly
43 - Cam Bushing
44 - Hexagon Flange Head Bolts
45 - Oval Head 6�Lobed Socket Tap Screws
46 - Park Lock Cable Assembly
47 - Gear Shift Lever Assembly Support Bracket
48 - TORX� Head Screws
49 - Pivot Pins
50 - Steering Column Support Assembly
51 - Steering Column Jacket Assembly
52 - Adapter and Bearing Assembly
53 - Lower Bearing Seat
54 - Lower Bearing Spring
55 - Lower Spring Retainers
56 - Steering Wheel Position Sensor Assembly
57 - Sensor Retainer
58 - Steering Shaft Seal
59 - Automatic Transmission Shift Lock Control