Operation CHARM: Car repair manuals for everyone.
Manuals through 2025 now available!

Our trusted friends have launched a new website named LEMON, which has newer manuals. It also contains all the CHARM manuals.

LEMON is the spiritual successor to CHARM, I recommend you try it!

Link: lemon-manuals.la or lemon-manuals.org.ua

(Some people have issue connecting. LEMON is investigating. For now, use Firefox or change your DNS server)

Or, hide this message: temporarily or permanently

Frame: Description and Operation

Front Frame

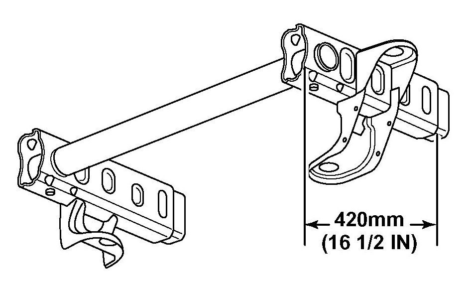
The re-designed frame assembly for the new S/T Utility is a mild, steel hydroformed frame assembly. A front frame service section consisting of the left and right frame ends, body, and radiator support mounting brackets and front connecting cross tube is available.




If damage permits, locate and cut off the front portion of the frame assembly (first 420 mm (16 - 1/2 in.) along the die mark indicators and through the sway bar mounting brackets. Front frame service section installation requires replacement of the sway-bar mounting brackets. The front and rear body mounts, radiator support mounts, sway-bar brackets, steering gear and transmission cross-member can be ordered and replaced separately.

Removal Procedure




1. Remove all of the related panels and components including the front bumper assembly and the sway bar assembly.




2. Locate the two die-marks on each frame rail. The die marks are located 420 mm (16 - 1/2 in.) rearward from each front frame rail end on the top and bottom side of each rail.






IMPORTANT: Line up the masking tape with the point of each die mark arrow.

3. Apply masking tape over the die-marks and down each frame rail side (as shown) for cut location.






IMPORTANT: The tape edge facing the rear of the vehicle is the proper cut location. The cut location is not to exceed 420 mm (16 - 1/2 in.) of the front frame section.

4. Cut each frame rail at the rear edge of the tape line and through the sway bar bracket using a reciprocating saw or equivalent tool, as shown.




5. Cut the sway bar bracket in half.




6. Remove the damaged frame section.






IMPORTANT: Do not damage the sway bar bracket attaching surfaces.

7. Remove and discard the remaining sway bar brackets attached to the undamaged portion of the frame using a cut-off wheel or equivalent tool.

Installation Procedure




1. Grind to taper existing frame rail seam at 45 degrees angle.
2. Prepare all of the attaching surfaces as necessary.
3. Apply a weld-thru primer to all welded surfaces.




4. Position the service frame section to the existing frame and clamp in place.






IMPORTANT: Check the frame measurements three-dimensionally to ensure proper position of the service frame.

5. Continuous-weld the upper and lower horizontal joints from corner to corner.






IMPORTANT: Check the frame measurements three-dimensionally to ensure proper position of the service frame.

6. Continuous-weld the inner and outer vertical joints from corner to corner.




7. Position the new sway bar brackets and clamp in place.






IMPORTANT: Check the frame measurements three-dimensionally to ensure proper position of the sway bar brackets.

8. Continuous-weld the sway bar bracket in place as noted from the original parts.




9. Install all of the related panels and components.