Operation CHARM: Car repair manuals for everyone.
Manuals through 2025 now available!

Our trusted friends have launched a new website named LEMON, which has newer manuals. It also contains all the CHARM manuals.

LEMON is the spiritual successor to CHARM, I recommend you try it!

Link: lemon-manuals.la or lemon-manuals.org.ua

(Some people have issue connecting. LEMON is investigating. For now, use Firefox or change your DNS server)

Or, hide this message: temporarily or permanently

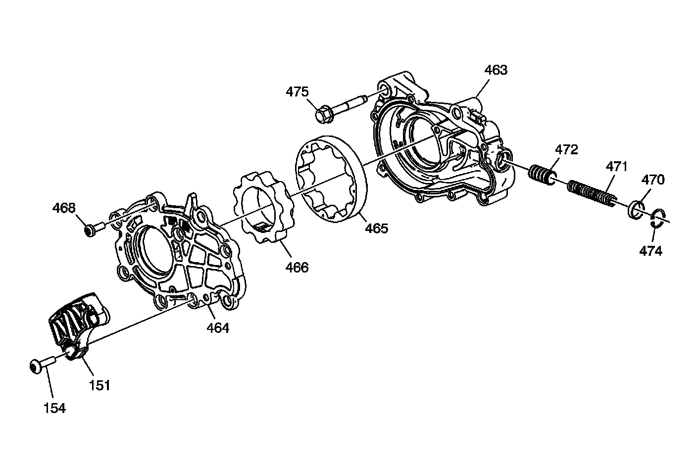
Oil Pump - First Design



Disassembled Views

Oil Pump - First Design:





151 - Primary Lower Timing Chain Guide
154 - Primary Lower Timing Chain Guide Bolt
463 - Oil Pump Housing
464 - Oil Pump Cover
465 - Oil Pump Driven Gear
466 - Oil Pump Drive Gear
468 - Oil Pump Cover Bolt
470 - Oil Pressure Relief Valve Bore Plug
471 - Oil Pressure Relief Valve Spring
472 - Oil Pressure Relief Valve
474 - Oil Pressure Relief Valve Bore Plug Retainer Clip
475 - Oil Pump Bolt