Operation CHARM: Car repair manuals for everyone.
Manuals through 2025 now available!

Our trusted friends have launched a new website named LEMON, which has newer manuals. It also contains all the CHARM manuals.

LEMON is the spiritual successor to CHARM, I recommend you try it!

Link: lemon-manuals.la or lemon-manuals.org.ua

(Some people have issue connecting. LEMON is investigating. For now, use Firefox or change your DNS server)

Or, hide this message: temporarily or permanently

Battery Positive Cable Replacement




Battery Positive Cable Replacement

Removal Procedure

Note:
* Always use replacement cables that are of the same type, diameter and length of the cables that you are replacing.
* Always route the replacement cable the same way as the original cable.




1. Disconnect the negative battery cable. Refer to Battery Negative Cable Disconnection and Connection (Battery Negative Cable Disconnection and Connection).
2. Remove the fuel injector sight shield. Refer to Fuel Injector Sight Shield Replacement (Fuel Injector Sight Shield Replacement).
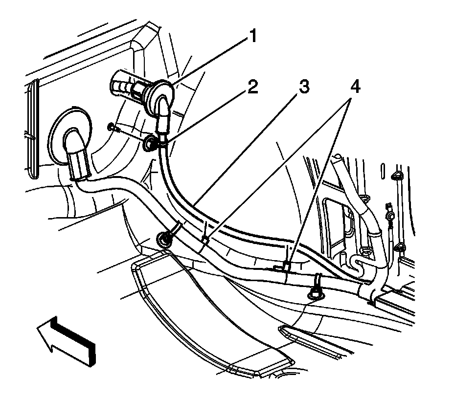
3. Open the accessory wiring junction block cover (1).
4. Remove the accessory wiring junction block nut (2).
5. Remove the positive battery cable terminal (3) from the stud.
6. Remove the positive battery cable clip (5) from the multiuse relay bracket.
7. Push the positive battery cable grommet (6) in through the dash panel.




8. Remove the right side instrument panel insulator panel. Refer to Instrument Panel Insulator Panel Replacement - Right Side .
9. Remove the passenger side carpet. Refer to Front Floor Panel Carpet Replacement - Right Side (Front Floor Panel Carpet Replacement - Right Side).
10. Pull up the passenger side corner of the dash panel sound barrier until the positive battery cable is accessible.
11. Remove the positive battery cable clip (2) from the stud on the dash panel.
12. Pull the grommet (1) from the dash panel.
13. Remove the positive battery cable (3) from the retainers (4) on the body wiring harness.




14. Remove the positive battery cable (1) from the body wiring harness right front sill plate (2).




15. Remove the body wiring harness (1) from the positive battery cable clips (4).
16. If equipped with regular production option (RPO) UE1, disconnect the body wiring harness electrical connector (2) from the battery cable electrical connector (3).




17. Disconnect the body wiring harness electrical connector (4) from the negative battery cable electrical connector (1).
18. Disconnect the body wiring harness electrical connector (3) from the battery current sensor (2).




19. Remove the positive battery cable clips (1) from the floor panel studs.
20. Open the positive battery cable cover (2).
21. Loosen the positive battery cable terminal nut.




22. Remove the positive battery cable out from under the rear carpet and remove the cable from the vehicle.

Installation Procedure




1. Route the positive battery cable under the rear carpet and position the cable from the vehicle floor pan.




2. Install the positive battery cable clips (1) to the floor panel studs.
3. Install the positive battery cable terminal to the battery positive terminal.

Caution: Refer to Fastener Caution (Fastener Caution).

4. Tighten the positive battery cable terminal nut.

Tighten the nut to 9 Nm (80 lb in).

5. Close the positive battery cable cover (2).




6. Connect the body wiring harness electrical connector (4) to the negative battery cable electrical connector (1).
7. Connect the body wiring harness electrical connector (3) to the battery current sensor (2).




8. Install the body wiring harness (1) to the positive battery cable clips (4).
9. If equipped with RPO UE1, connect the body wiring harness electrical connector (2) to the battery cable electrical connector (3).




10. Install the positive battery cable (1) to the body wiring harness right front sill plate (2).




11. Push the grommet (1) through the dash panel.
12. Install the positive battery cable (3) to the retainers (4) on the body wiring harness.
13. Install the positive battery cable clip (2) to the stud on the dash panel.
14. Reposition the passenger side corner of the dash panel sound barrier.
15. Install the passenger side carpet. Refer to Front Floor Panel Carpet Replacement - Right Side (Front Floor Panel Carpet Replacement - Right Side).
16. Install the right side instrument panel insulator panel. Refer to Instrument Panel Insulator Panel Replacement - Right Side .




17. Ensure that the positive battery cable grommet (6) is completely seated through the dash panel.
18. Install the positive battery cable terminal (3) to the junction block stud.
19. Install the accessory wiring junction block nut (2).

Tighten the nut to 22 Nm (16 lb ft).

20. Close the accessory wiring junction block cover (1).
21. Install the positive battery cable clip (5) to the multiuse relay bracket.
22. Install the fuel injector sight shield. Refer to Fuel Injector Sight Shield Replacement (Fuel Injector Sight Shield Replacement).
23. Connect the negative battery cable. Refer to Battery Negative Cable Disconnection and Connection (Battery Negative Cable Disconnection and Connection).