Operation CHARM: Car repair manuals for everyone.
Manuals through 2025 now available!

Our trusted friends have launched a new website named LEMON, which has newer manuals. It also contains all the CHARM manuals.

LEMON is the spiritual successor to CHARM, I recommend you try it!

Link: lemon-manuals.la or lemon-manuals.org.ua

(Some people have issue connecting. LEMON is investigating. For now, use Firefox or change your DNS server)

Or, hide this message: temporarily or permanently

Disassembled Views




Disassembled Views

Case and Associated Parts





1 - Control Valve Body Cover Assembly

2 - Transmission Fluid Level Indicator Assembly

3 - Fluid Level Indicator Tube - Model Dependent

4 - Fluid Level Indicator Tube Seal - Model Dependent

5 - Control Valve Body Cover Assembly Gasket

6 - Control Valve Body Cover Stud

7 - Control Valve Body Cover Bolt

8 - Control Valve Body Bolt

9 - Control Valve Body Bolt

10 - Control Valve Body Cover Wiring Connector Hole Seal

11 - Control Solenoid Valve Spring

12 - Control Valve Body Bolt

13 - Control Valve Body Bolt

14 - Control Valve Body Bolt

15 - Control Solenoid (w/Body and TCM) Valve Assembly

16 - Control Solenoid (w/Body and TCM) Filter Plate Assembly

17 - Manual Shaft Detent Assembly

18 - Control Valve Body Assembly

19 - A/Trans Output Speed Sensor Assembly

20 - A/Trans Output Speed Sensor Bolt

21 - A/Trans Case Assembly

22 - Torque Converter Housing Outer Seal

23 - Front Differential Drive Pinion (w/Transfer Gear) Gear Assembly

24 - Front Differential Drive Pinion Gear Lube Tube

25 - Torque Converter and Support and A/Trans Fluid Pump Housing Assembly

26 - Torque Converter and Differential Housing Bolt

27 - Torque Converter Assembly

28 - Dust Cover Push Pin - Model Dependent

29 - Dust Cover Bolt - Model Dependent

30 - Dust Cover - Model Dependent

31 - Front Differential Carrier Assembly

32 - Input Shaft Thrust Bearing Assembly

33 - A/Trans Case Cover Gasket

34 - A/Trans Case Cover Assembly

35 - A/Trans Case Cover Assembly Bolt

Transmission Case Assembly





51 - A/Trans Case Assembly

52 - Transmission Fluid Cooler Pipe Stud

53 - Transmission Case Cover Locator Pin

54 - A/Trans Fluid Trough O-Ring Seal

55 - A/Trans Fluid Trough Assembly

56 - A/Trans Fluid Trough Bolt

57 - A/Trans Pump Fluid Outlet Seal Assembly

58 - Front Differential Drive Pinion Gear Lube Dam

59 - Front Differential Drive Pinion Gear Bearing Cup

60 - Front Differential Carrier Bearing Cup

61 - Front Wheel Drive Shaft Oil Seal Assembly

62 - A/Trans Fluid Press Test Hole Plug

63 - A/Trans Fluid Level Hole Plug

64 - Control Valve Body Locator Pin

65 - 1-2-3-4 Clutch Fluid Passage Seal

Torque Converter, Support and Fluid Pump Housing Assembly





201 - A/Trans Fluid Filter Assembly

202 - Filter Neck Seal

203 - A/Trans Fluid Pump Assembly

204 - A/Trans Fluid Pump Bolt

205 - Front Differential Transfer Drive Gear Support Seal Assembly

206 - Front Differential Transfer Drive Gear Support Torque Converter Fluid Seal Assembly

207 - Front Differential Transfer Drive Gear Support Bolt

208 - Front Differential Transfer Drive Gear Support Assembly

209 - Front Differential Transfer Drive Gear Fluid Passage Tube Assembly

210 - Front Differential Transfer Drive Gear Fluid Passage Tube Bolt

211 - Front Differential Transfer Drive Gear Fluid Passage Tube Bolt

212 - Front Differential Transfer Drive Gear Support Fluid Passage Tube Gasket

213 - Front Differential Transfer Drive Gear Support Seal

214 - Drive Sprocket Thrust Washer

215 - Oil Pump Drive Link Driven Sprocket

216 - Oil Pump Drive Link Drive Sprocket

217 - Drive Link

218 - Drive Link Assembly

219 - Drive Sprocket Thrust Washer

220 - Drive Sprocket Thrust Washer

221 - Torque Converter and Differential Housing Assembly

222 - Front Differential Drive Pinion Gear Bearing Cup

223 - Front Differential Drive Pinion Gear Bearing Thrust Washer

224 - Front Differential Drive Pinion Gear Lube Dam

225 - Torque Converter Fluid Seal Assembly

226 - Front Wheel Drive Shaft Oil Seal Assembly

227 - Front Differential Bearing Thrust Washer

228 - Front Differential Carrier Bearing Cup

229 - Front Differential Carrier Baffle

230 - Front Differential Carrier Baffle Bolt

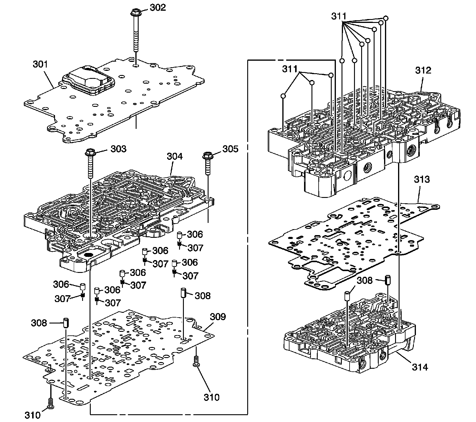
Control Valve Body Assembly





301 - Control Valve Channel Upper Plate Assembly

302 - Control Valve Body Bolt

303 - Control Valve Body Bolt

304 - Control Valve Channel Plate

305 - Control Valve Body Bolt

306 - Actuator Feed Accumulator Piston

307 - Actuator Feed Accumulator Spring

308 - Control Valve Body Locator Pin

309 - Control Valve Upper Body Spacer Plate Assembly

310 - Control Valve Body Spacer Plate Retainer

311 - Control Valve Body Ball Check Valve

312 - Control Valve Upper Body Assembly

313 - Control Valve Lower Body Spacer Plate Assembly

314 - Control Valve Lower Body

Upper Valve Body Assembly





325 - Low and Reverse and 4-5-6 Clutch Regulator Valve Spring

326 - Low and Reverse and 4-5-6 Clutch Regulator Valve

327 - Pressure Regulator Valve Bore Plug

328 - Torque Converter Clutch Valve Spring Retainer

329 - Torque Converter Clutch Regulator Apply Valve Spring

330 - Torque Converter Clutch Regulator Apply Valve

331 - Torque Converter Clutch Regulator Apply Shuttle Valve

332 - 2-6 Clutch Regulator Valve Spring

333 - 2-6 Clutch Regulator Valve

334 - 2-6 Clutch Regulator Valve Gain Valve

335 - 3-5-Reverse Clutch Regulator Valve Spring

336 - 3-5-Reverse Clutch Regulator Valve

337 - Pressure Regulator Valve

338 - Pressure Regulator Valve Spring

339 - Pressure Regulator Valve Bore Plug Retainer

340 - Isolator Valve

341 - Isolator Valve Spring

342 - Torque Converter Clutch Control Valve

343 - Torque Converter Clutch Control Valve Spring

344 - Clutch Select Solenoid Valve #3 Spring

345 - Clutch Select Solenoid #3 Valve

346 - Clutch Select Solenoid Valve #2 Spring

347 - Clutch Select Solenoid #2 Valve

348 - Manual Valve

349 - Control Valve Upper Body

Lower Valve Body Assembly





327 - 1-2-3-4 Clutch Regulator Valve Bore Plug

339 - Actuator Feed Limit Valve Spring Retainer

360 - 4-5-6 Clutch Boost Valve

361 - 4-5-6 Clutch Boost Valve Spring

362 - Actuator Feed Limit Valve

363 - Actuator Feed Limit Valve Spring

364 - 3-5-Reverse Clutch Boost Valve

365 - 3-5-Reverse Clutch Boost Valve Spring

366 - 4-5-6 Clutch Accumulator Piston

367 - 4-5-6 Clutch Accumulator Piston Spring

368 - 4-5-6 Clutch Accumulator Piston Retainer

369 - 1-2-3-4 Clutch Boost Valve

370 - 1-2-3-4 Clutch Boost Valve Spring

371 - 1-2-3-4 Clutch Regulator Valve Spring

372 - 1-2-3-4 Clutch Regulator Valve

373 - Default Override 1-2-3-4 Clutch Valve

374 - Control Valve Lower Body

A/Trans Case Cover, 2-6 and Low Reverse Pistons





400 - A/Trans Input Speed Sensor Assembly

401 - A/Trans Input Speed Sensor Bolt

402 - ISS O-Ring Seal

403 - A/Trans Case Cover Assembly

404 - 3-5-Reverse and 4-5-6 Clutch Fluid Seal Ring

405 - 2-6 Clutch Piston

406 - 2-6 Clutch Spring Assembly

407 - 2-6 Clutch Spring Retainer Ring

408 - Low and Reverse Clutch Piston Assembly

409 - Low and Reverse Clutch Spring

410 - Low and Reverse Clutch Spring Retainer Ring

3-5 Reverse Clutch Assembly





415 - A/Trans Input Shaft Speed Sensor Reluctor Ring Retainer Ring

416 - A/Trans Input Shaft Speed Sensor Reluctor Wheel

417 - 3-5-Reverse Clutch Piston

418 - 3-5-Reverse Clutch Spring

419 - 3-5-Reverse Clutch Piston Inner Seal

420 - 3-5-Reverse Clutch Piston Inner Seal

421 - 3-5-Reverse Clutch Piston Dam Seal

422 - 3-5-Reverse and 4-5-6 Clutch Housing Assembly

423 - 3-5-Reverse Clutch (Waved) Plate

424 - 3-5-Reverse Clutch Plate

425 - 3-5-Reverse Clutch (w/Friction Material) Plate Assembly

426 - 3-5-Reverse Clutch Backing Plate

427 - 3-5-Reverse Clutch Backing Plate Retainer Ring

4-5-6 Clutch Assembly





422 - 3-5-Reverse and 4-5-6 Clutch Housing Assembly

430 - 4-5-6 Clutch Piston Inner Seal

431 - 4-5-6 Clutch Piston Outer Seal

432 - 4-5-6 Clutch Piston Outer Seal

433 - 4-5-6 Clutch Piston

434 - 4-5-6 Clutch Spring

435 - 4-5-6 Clutch Piston Fluid Dam

436 - 4-5-6 Clutch Dam Retainer Ring

437 - 4-5-6 Clutch Hub Thrust Bearing Assembly

438 - Reaction Carrier Hub Assembly

439 - 4-5-6 Clutch Plate

440 - 4-5-6 Clutch (w/Friction Material) Plate Assembly

441 - 4-5-6 Clutch Backing Plate

442 - 4-5-6 Clutch Backing Plate Retainer Ring

2-6, Low and Reverse and 1-2-3-4 Clutch Plate Assemblies





445 - 2-6 Clutch Cushion Spring

446 - 2-6 Clutch Plate

447 - 2-6 Clutch (w/Friction Material) Plate Assembly

448 - 2-6 Clutch Backing Plate

449 - Low and Reverse Clutch Apply Plate

450 - Low and Reverse Clutch Cushion (Waved) Spring

451 - Low and Reverse Clutch (w/Friction Material) Plate Assembly

452 - Low and Reverse Clutch Plate

453 - Low and Reverse Clutch Backing Plate

454 - Low and Reverse Clutch Retainer Ring

455 - Low and Reverse Clutch Assembly (OWC)

456 - 1-2-3-4 Clutch (w/Friction Material) Plate Assembly

457 - 1-2-3-4 Clutch Plate

458 - 1-2-3-4 Clutch (Waved) Plate

459 - 1-2-3-4 Clutch Spring Retainer Ring

460 - 1-2-3-4 Clutch Spring

461 - 1-2-3-4 Clutch Piston

449 - Low and Reverse Clutch Apply Plate

Input, Output and Reaction Gearsets





465 - 2-6 Clutch Hub Thrust Bearing

466 - Reaction Sun Gear Assembly

467 - Reaction Carrier Assembly

468 - Input Carrier Thrust Bearing Assembly

469 - Input Sun Gear Thrust Bearing Assembly

470 - Input Carrier Assembly

471 - Input Sun Gear

472 - Output Carrier Thrust Bearing Assembly

473 - Output Carrier Thrust Bearing Assembly

474 - Output Carrier Assembly

475 - Output Sun Gear Assembly

476 - Front Differential Transfer Drive Gear Input Hub Bearing Assembly

477 - Output Carrier Transfer Drive Gear Hub Assembly

478 - Input Internal Gear

479 - Input Internal Gear Retaining Ring

482 - Reaction Internal Gear Retaining Ring

483 - Reaction Carrier Internal Gear

Front Differential Transfer Drive Gear Assembly





480 - Front Differential Drive Pinion Gear Bearing Assembly

481 - Front Differential Drive Pinion (w/Transfer Gear) Gear Assembly

Front Differential Carrier Assembly





485 - Front Differential Carrier Bearing Assembly

486 - Front Differential Carrier Assembly

487 - Front Differential Carrier Bearing Assembly

488 - Front Differential Carrier Thrust Washer

489 - Front Differential Pinion Gear

490 - Front Differential Pinion Gear Shaft Retainer

491 - Front Differential Pinion Gear Shaft

492 - Front Differential Side Gear Thrust Washer

493 - Front Differential Side Gear

Park System Components





500 - Park Pawl Actuator Bracket Bolt

501 - Park Pawl Actuator Bracket

502 - Park Pawl Shaft

503 - Park Pawl

504 - Park Pawl Spring

505 - Park Pawl Actuator Guide Pin

506 - Park Pawl Actuator Guide

507 - A/Trans Case Assembly

508 - Manual Shift Shaft Seal

509 - Park Pawl Actuator Assembly

510 - Manual Shift Shaft Pin

511 - Manual Shift Detent (w/Shaft Position Switch) Lever Assembly