Operation CHARM: Car repair manuals for everyone.
Manuals through 2025 now available!

Our trusted friends have launched a new website named LEMON, which has newer manuals. It also contains all the CHARM manuals.

LEMON is the spiritual successor to CHARM, I recommend you try it!

Link: lemon-manuals.la or lemon-manuals.org.ua

(Some people have issue connecting. LEMON is investigating. For now, use Firefox or change your DNS server)

Or, hide this message: temporarily or permanently

Exhaust Gas Recirculation: Testing and Inspection

Chart 6EC-2:




Chart 6EC-2: Part 2 Of 2:




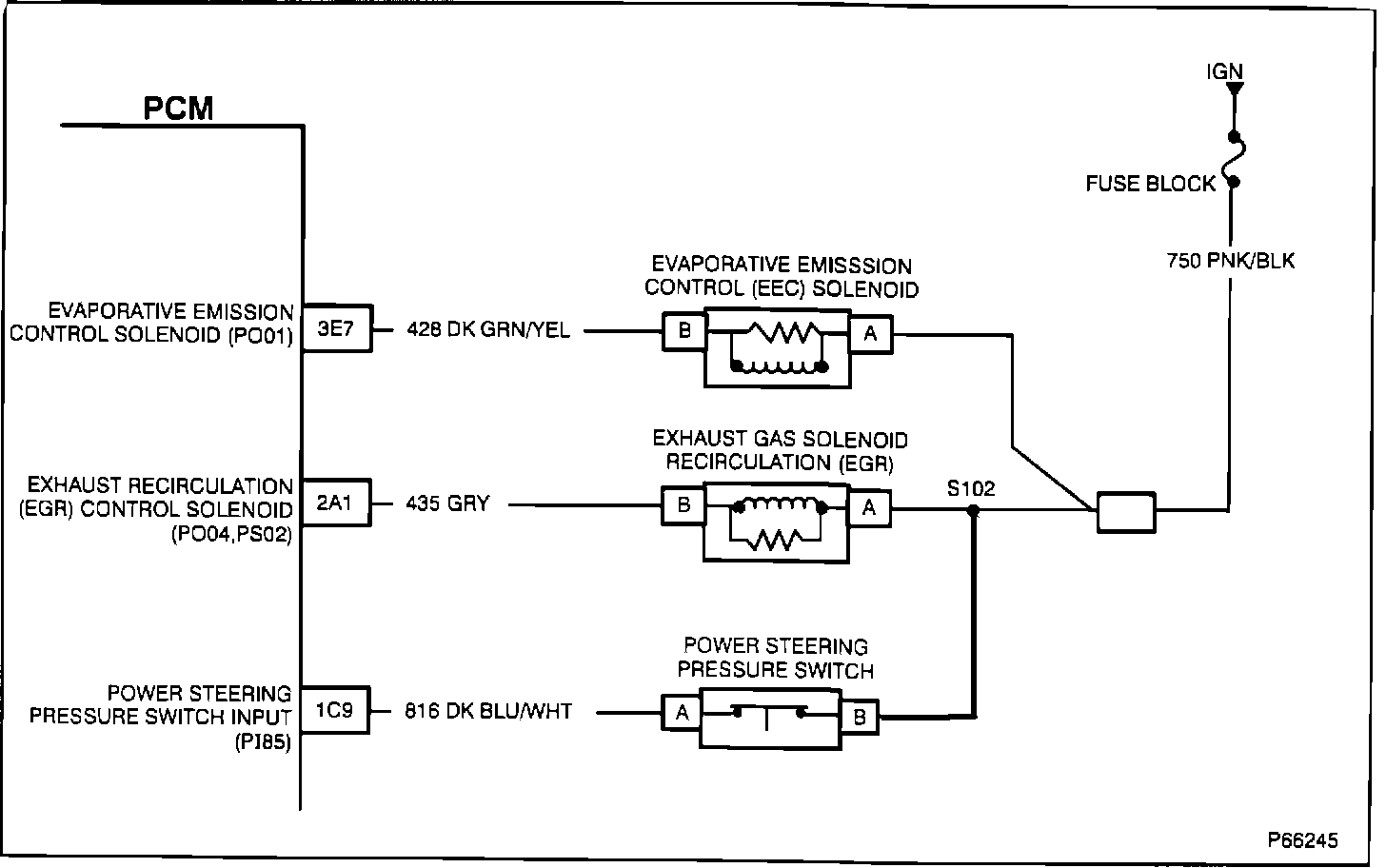
Wiring Diagram:






TEST DESCRIPTION
This procedure test the EGR system's ability to functionally regulate the amount of exhaust gas fed to the engine.

NOTES ON FAULT TREE
1. Checking for EGR gases to enter the intake manifold by raising the EGR valve off of its seat.

2. Checking for EGR solenoid able to pass vacuum.

3. With engine idleing, EGR solenoid should be energized. Voltmeter across EGR solenoid terminals should be greater than 10 volts.

4. Checking for PCM's ability to turn solenoid "OFF."

VACUUM TEST
1. Connect a vacuum gauge to the source side of the EGR solenoid. Start the engine, manifold vacuum should be present. If it is not, repair leaks or obstruction between the EGR solenoid and throttle body.

2. Connect a vacuum gauge to the EGR valve vacuum supply. There should be no vacuum with the engine idling. If there is, follow chart above.

3. With the gauge hooked to the EGR valve vacuum supply, disconnect the EGR solenoid connector. There should be more than 15 inches of vacuum available. If not, repair leak or obstruction in EGR valve vacuum hose.

NOTES ON INTERMITTENTS
^ Check vacuum supply hoses for leaks, restrictions, and obstructions. Clean out or replace as necessary.
^ Check intake manifold passages for any obstructions that would prevent exhaust gases from passing through.