Operation CHARM: Car repair manuals for everyone.
Manuals through 2025 now available!

Our trusted friends have launched a new website named LEMON, which has newer manuals. It also contains all the CHARM manuals.

LEMON is the spiritual successor to CHARM, I recommend you try it!

Link: lemon-manuals.la or lemon-manuals.org.ua

(Some people have issue connecting. LEMON is investigating. For now, use Firefox or change your DNS server)

Or, hide this message: temporarily or permanently

Harness Retention Points

LH Front Of Car (RH Similar):




LH Front Of Car (RH Similar):




LH Front Of Car (RH Similar):




LH Front Of Car (RH Similar):




Front Of Car:




LH Front Of Car:




Lower RH Front Of Car:




LH Front Of Engine Compartment:




RH Side Of Engine Compartment:




RH Side Of Engine Compartment:




LH Front Of Engine Compartment (4.9 L Shown, Northstar Similar):




LH Front Of Engine Compartment (4.9 L Shown, Northstar Similar):




LH Rear Of Engine Compartment (4.9 L Shown, Northstar Similar):




RH Rear Of Engine Compartment:




Top Center Of I/P:




Top Of Console:




Under Driver Seat:




LH Sail Panel:




LH Front Door:




RH Front Of Trunk:




LH Side Of Trunk:




Rear Of Trunk:




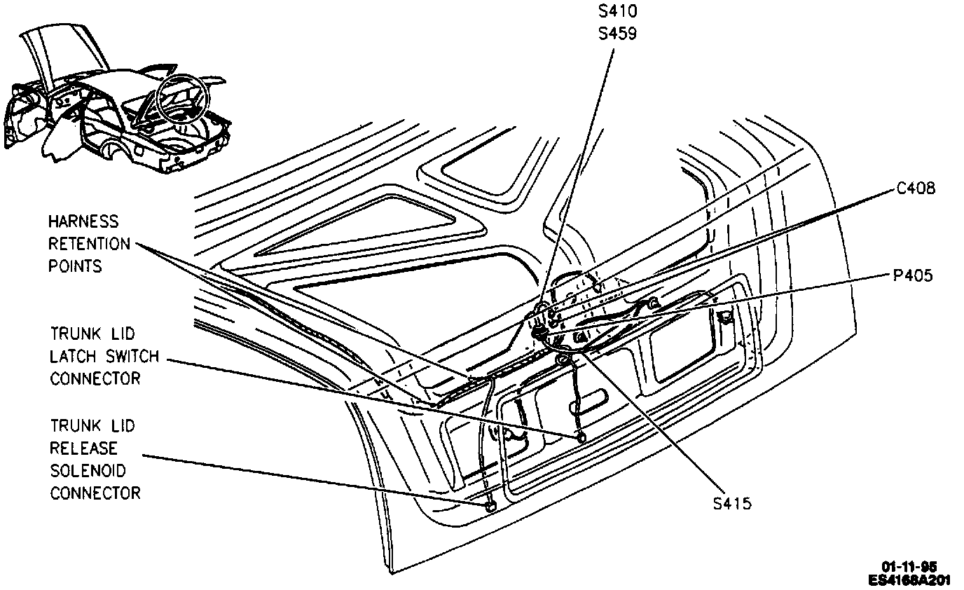
Underside Of Trunk Lid:




Lower RH Front Of Car:




LH Front Wheelhouse:




RH Rear Suspension (LH Similar):




Front Of Engine Compartment:




LH Front Of Engine Compartment:




Lower Front Of Engine:




LH Rear Of Engine:




Lower LH Front Of Engine:




Top LH Side Of Engine: