Operation CHARM: Car repair manuals for everyone.
Manuals through 2025 now available!

Our trusted friends have launched a new website named LEMON, which has newer manuals. It also contains all the CHARM manuals.

LEMON is the spiritual successor to CHARM, I recommend you try it!

Link: lemon-manuals.la or lemon-manuals.org.ua

(Some people have issue connecting. LEMON is investigating. For now, use Firefox or change your DNS server)

Or, hide this message: temporarily or permanently

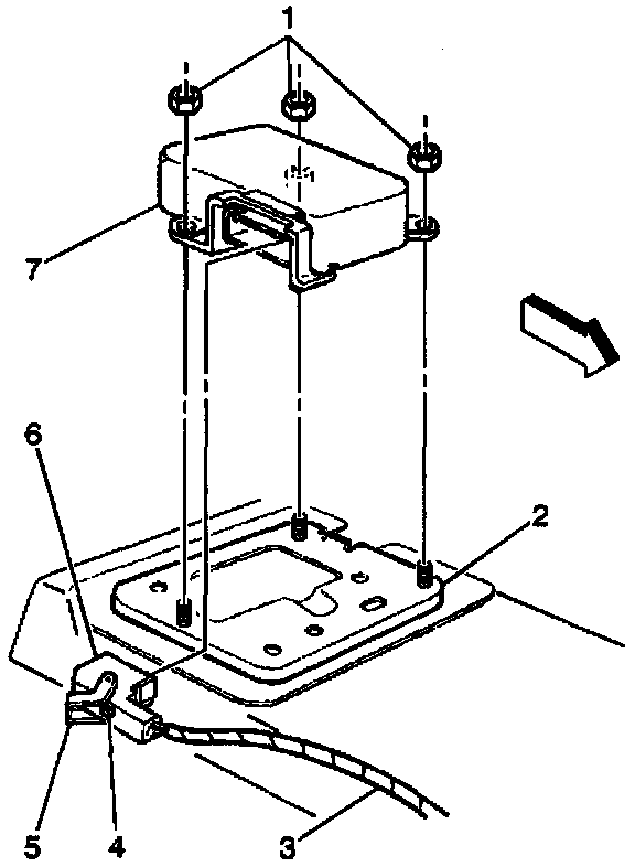
Installation Procedure

Description:






1. Install the SDM to the vehicle. Ensure that the arrow on the SDM points toward the front of the vehicle.
2. Install the fasteners to the SDM.

Tighten
Use only hand tools to tighten the fasteners to 10 N.m (89 lb. in).





3. Install the SDM harness connector (5).
4. Engage and lock the SDM Connector Position Assurance (CPA) (4).





5. Install the center console (1).
6. Enable the SIR system.

IMPORTANT: A replacement inflatable restraint Sensing and Diagnostic and Seat Belt Pretensioner Module (SDM) must be programmed for use in the vehicle using a Scan Tool scan tool. Depending on the vehicle model year and options, the SDM may be programmed for one of the two following configurations:

1. Driver & Pass-If the vehicle is equipped with frontal air bags and seat belt buckle pretensioners.
2. Driver Pass & Side-If the vehicle is equipped with frontal air bags, side air bags and seat belt buckle pretensioners.

To program the replacement SDM, select the Programming option from the Supplemental inflatable Restraint menu on the scan tool. Choose the correct configuration when prompted by the scan tool.

THE SDM MAY ONLY BE PROGRAMMED ONCE. It is NOT reprogrammable