Operation CHARM: Car repair manuals for everyone.
Manuals through 2025 now available!

Our trusted friends have launched a new website named LEMON, which has newer manuals. It also contains all the CHARM manuals.

LEMON is the spiritual successor to CHARM, I recommend you try it!

Link: lemon-manuals.la or lemon-manuals.org.ua

(Some people have issue connecting. LEMON is investigating. For now, use Firefox or change your DNS server)

Or, hide this message: temporarily or permanently

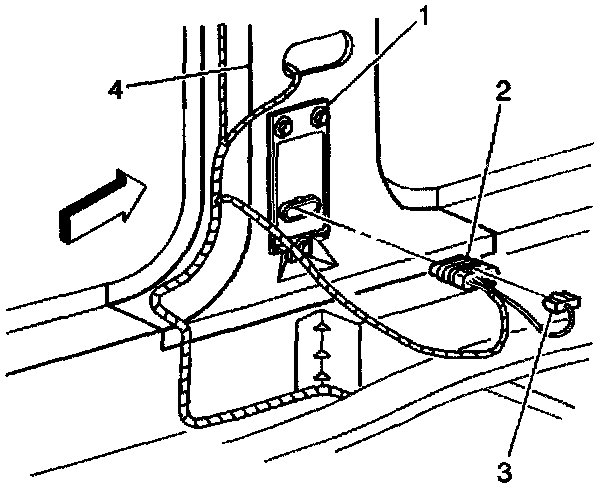
Installation Procedure









1. Install the SISM (1) to the center pillar sheetmetal (5).

Notice: Refer to Fastener Notice in Cautions and Notices. Fastener Precautions

2. Install the SISM mounting fasteners (1).

Tighten
Tighten fasteners to 9 N.m (80 lb in).

3. Install the SISM harness connector (2) to the SISM (1).
4. Install the Connector Position Assurance (CPA) (3) to the SISM harness (2) connector.
5. Install the center pillar trim. Refer to Garnish Module Replacement - Center Pillar in Interior Trim.
6. Enable the SIR system. Refer to Enabling the SIR System. Enabling the SIR System