Operation CHARM: Car repair manuals for everyone.
Manuals through 2025 now available!

Our trusted friends have launched a new website named LEMON, which has newer manuals. It also contains all the CHARM manuals.

LEMON is the spiritual successor to CHARM, I recommend you try it!

Link: lemon-manuals.la or lemon-manuals.org.ua

(Some people have issue connecting. LEMON is investigating. For now, use Firefox or change your DNS server)

Or, hide this message: temporarily or permanently

Refrigerant: Service Precautions

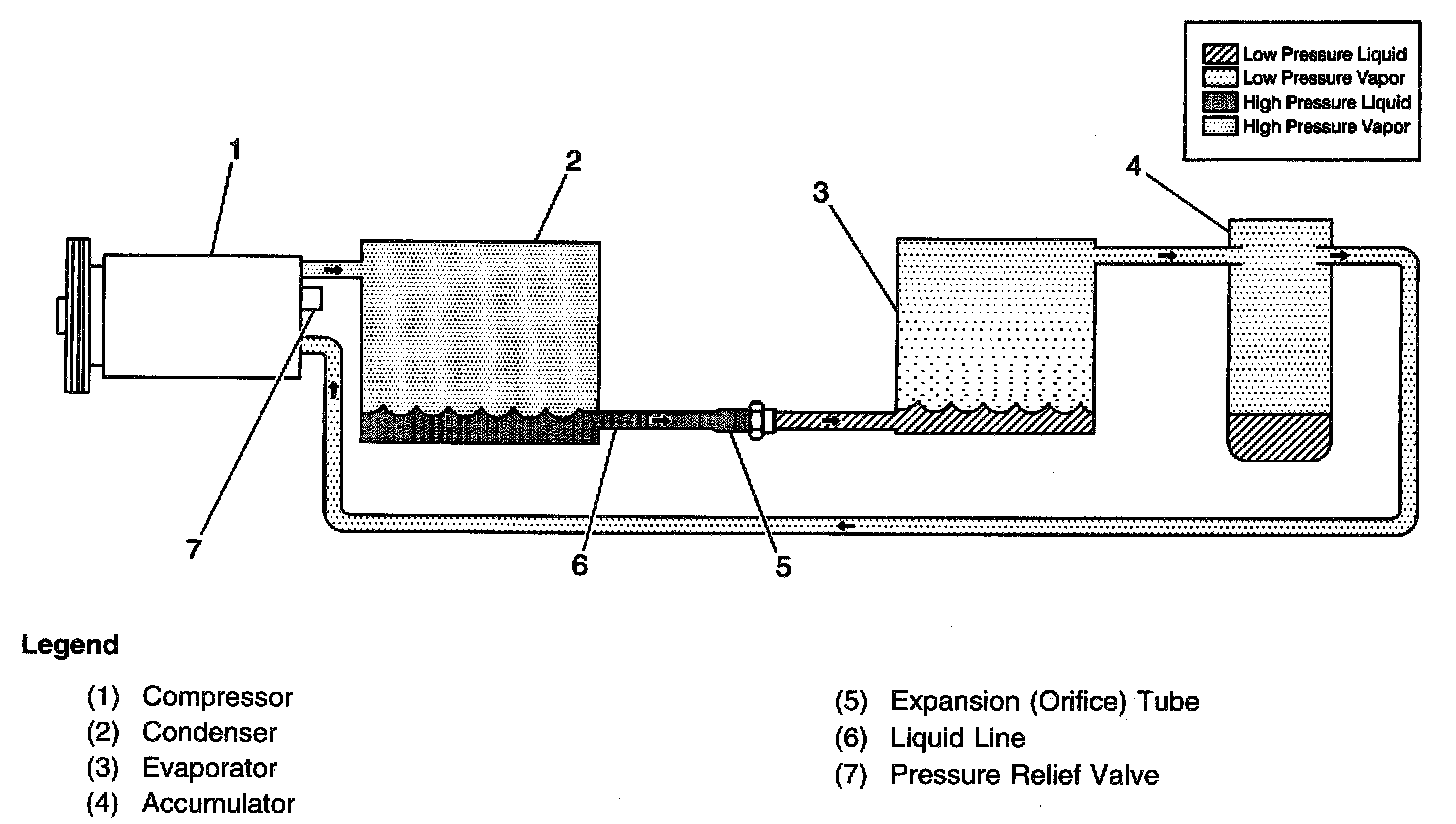
Refrigeration System Description:





CAUTION: Avoid breathing the A/C Refrigerant 134a (R-134a) and the lubricant vapor or the mist. Exposure may irritate the eyes, nose, and throat. Work in a well ventilated area. In order to remove R-134a from the A/C system, use service equipment that is certified to meet the requirements of SAE J 2210 (R-134a recycling equipment). If an accidental system discharge occurs, ventilate the work area before continuing service. Additional health and safety information may be obtained from the refrigerant and lubricant manufacturers.