Operation CHARM: Car repair manuals for everyone.
Manuals through 2025 now available!

Our trusted friends have launched a new website named LEMON, which has newer manuals. It also contains all the CHARM manuals.

LEMON is the spiritual successor to CHARM, I recommend you try it!

Link: lemon-manuals.la or lemon-manuals.org.ua

(Some people have issue connecting. LEMON is investigating. For now, use Firefox or change your DNS server)

Or, hide this message: temporarily or permanently

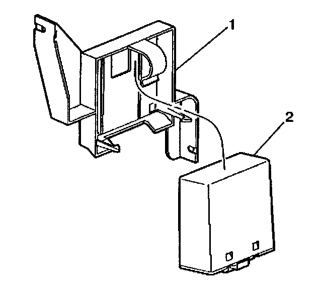
Alarm Module: Service and Repair

REMOVAL PROCEDURE



The replacement PASS-Key(R) III (VTD) modules are manufactured to be able to learn the FIRST key that is used to start the vehicle. When learning the first key, simply insert the ignition key and turn the ignition ON.
1. Remove the driver side sound insulator.
2. Remove the electrical connector from the module.
3. Move the bottom of the module (3) towards the brake pedal first and then slide down from the bracket (2).

INSTALLATION PROCEDURE



1. Slide the module (2) up into the bracket (1) until the bottom clears the bracket and sits flush within the bracket.
2. Install electrical connector.
3. Install the driver side sound insulator.