Operation CHARM: Car repair manuals for everyone.
Manuals through 2025 now available!

Our trusted friends have launched a new website named LEMON, which has newer manuals. It also contains all the CHARM manuals.

LEMON is the spiritual successor to CHARM, I recommend you try it!

Link: lemon-manuals.la or lemon-manuals.org.ua

(Some people have issue connecting. LEMON is investigating. For now, use Firefox or change your DNS server)

Or, hide this message: temporarily or permanently

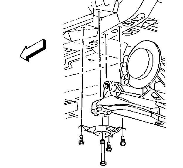
Forward Body Mount Replacement

REMOVAL PROCEDURE
1. Raise the vehicle and suitably support. Refer to Vehicle Lifting.
2. Remove wheels and tires.
3. Remove the exhaust system. Refer to Exhaust System Replacement in Exhaust System.
4. Support forward end of the rear suspension support with a suitable jack. 5.Remove the forward body mount brackets at the support assembly.





6. Remove the two bolts securing the front of the support assembly to the vehicle.
7. Lower the jack to allow the front end of the support assembly to lower enough to allow for removal of the mounts.





8. Using a punch, bend the tabs on the mount inboard (1) and then tap the mount downward and out of the support assembly.

INSTALLATION PROCEDURE





1. Tap the mount into the support assembly ensuring the flat is outboard (2) and the notch (1) is rearward upon the installation.
2. Bend the tabs outboard with a large pair of pliers,tabs should be fully seated against chamfer in support assembly retainer ring.
3. Raise the support assembly to the body of the vehicle.

NOTICE: Refer to Fastener Notice in Service Precautions.





4. Install two bolts securing the front of the support assembly to the vehicle body.
- Tighten the bolts to 191 Nm (141 ft. lbs.).

5. Install the brackets to body at the support assembly forward mounts.
- Tighten body bracket bolts to 86 Nm (63 ft. lbs.).

6. Install the exhaust system. Refer to Exhaust System Replacement in Exhaust System.
7. Install the wheels and tires.
- Tighten the wheel nuts to 140 Nm (100 ft. lbs.).

8. Lower the vehicle.