Operation CHARM: Car repair manuals for everyone.
Manuals through 2025 now available!

Our trusted friends have launched a new website named LEMON, which has newer manuals. It also contains all the CHARM manuals.

LEMON is the spiritual successor to CHARM, I recommend you try it!

Link: lemon-manuals.la or lemon-manuals.org.ua

(Some people have issue connecting. LEMON is investigating. For now, use Firefox or change your DNS server)

Or, hide this message: temporarily or permanently

Powertrain Controls




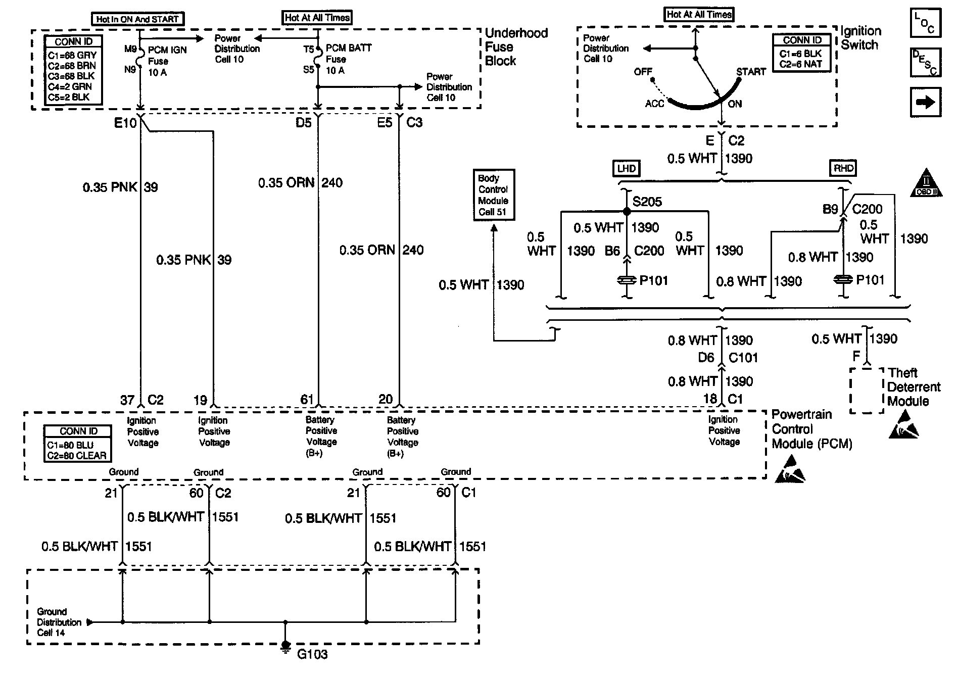
PCM Power, Grounds




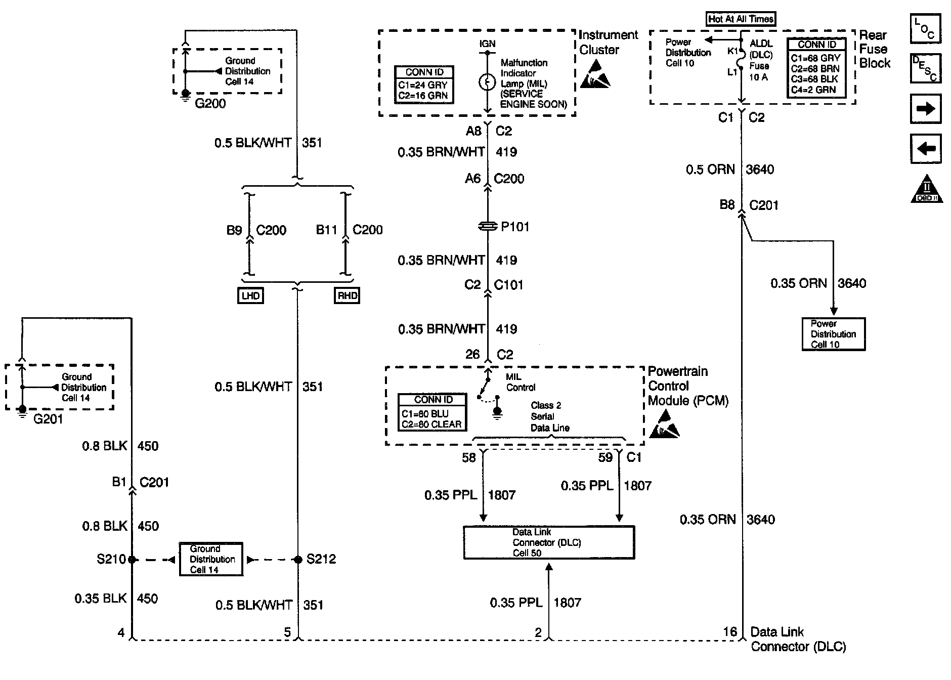
MIL Control and DLC




Ignition Control (IC) Module




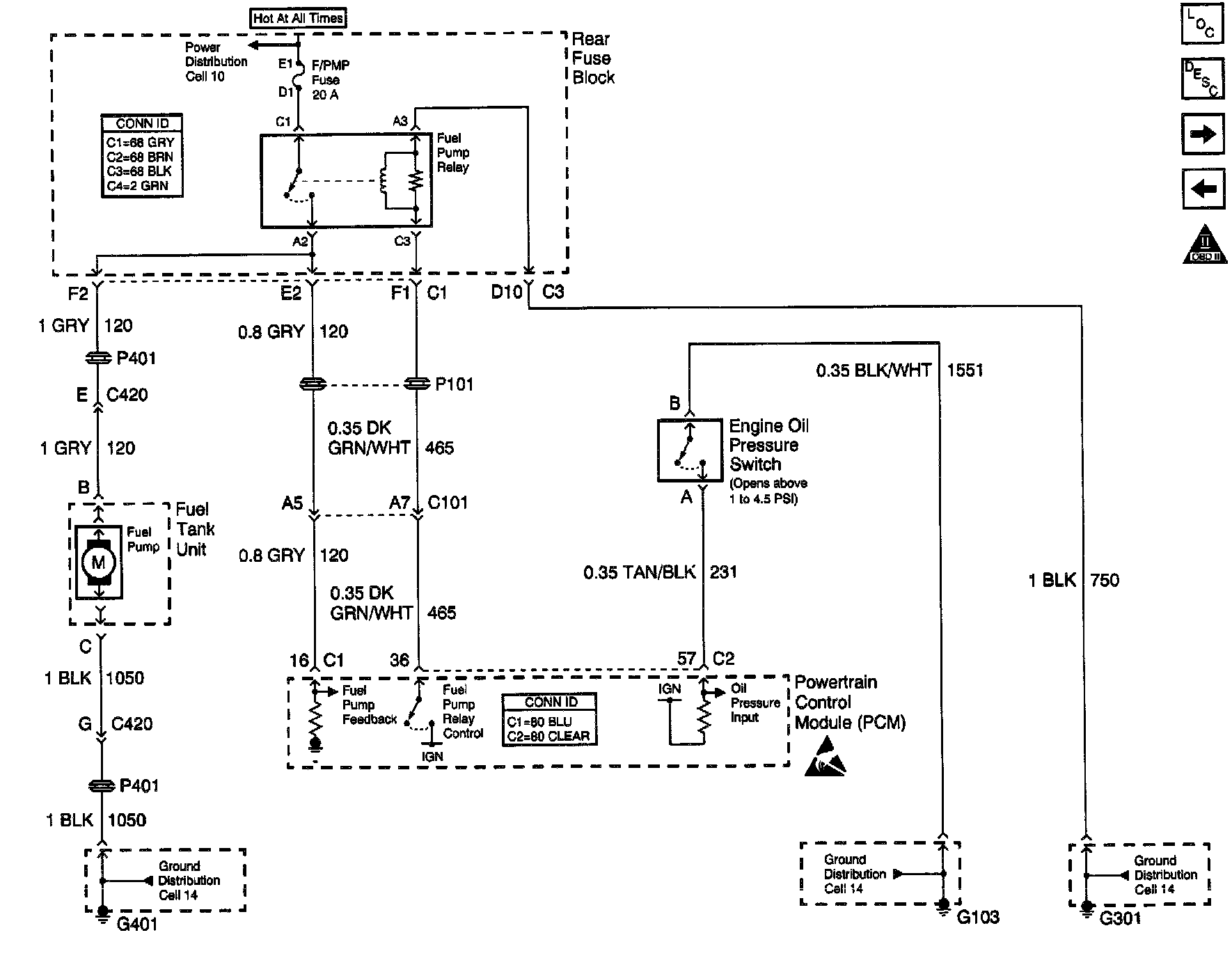
Fuel Pump and Oil Pressure Switch




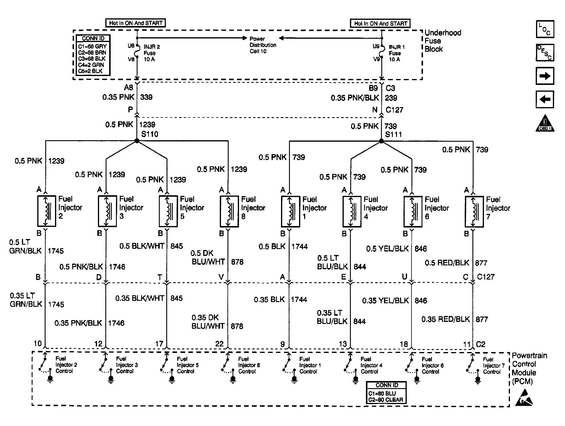
Fuel Injectors




Sensors

Later Production:




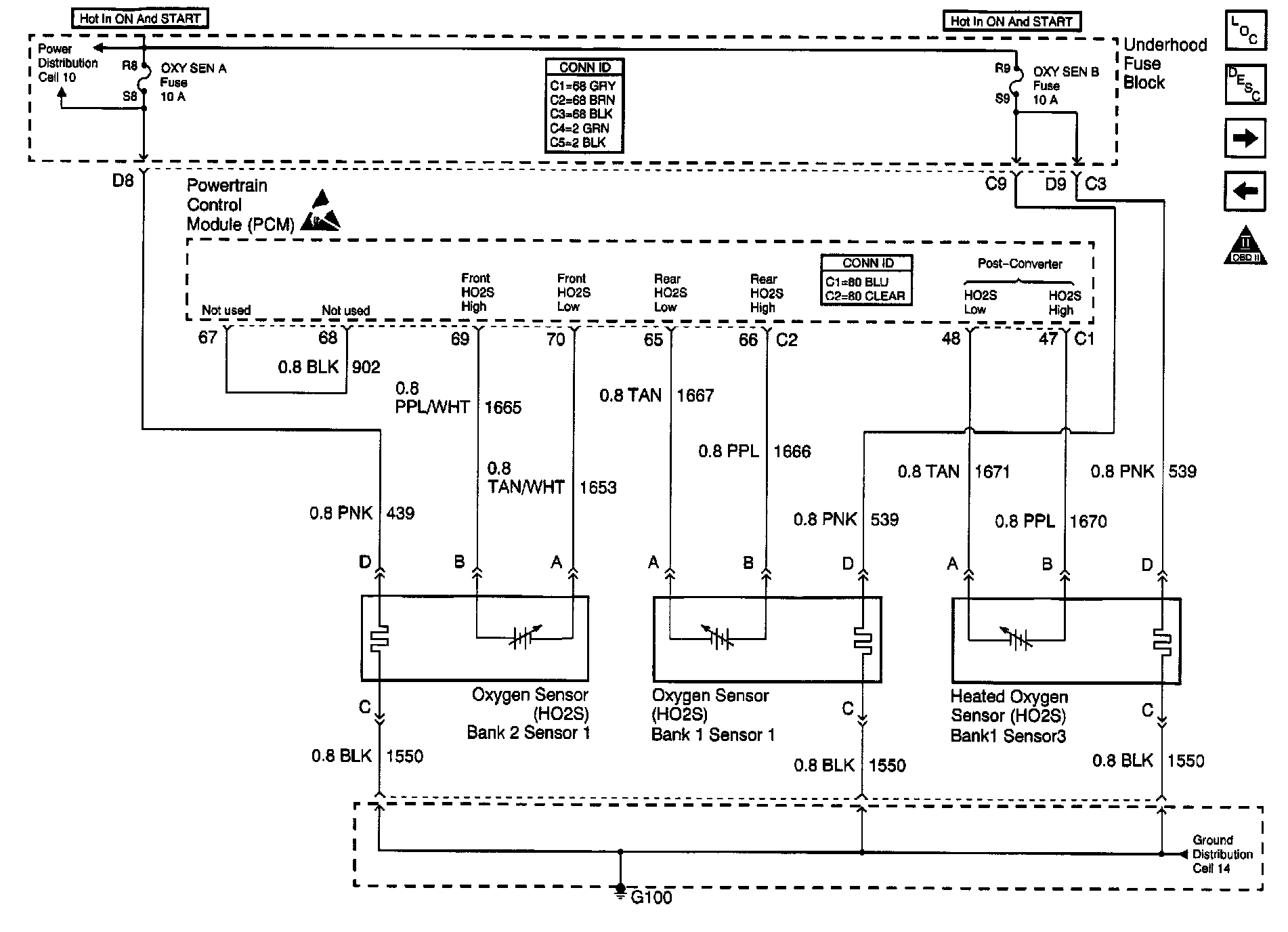
HO2S (Late Production)




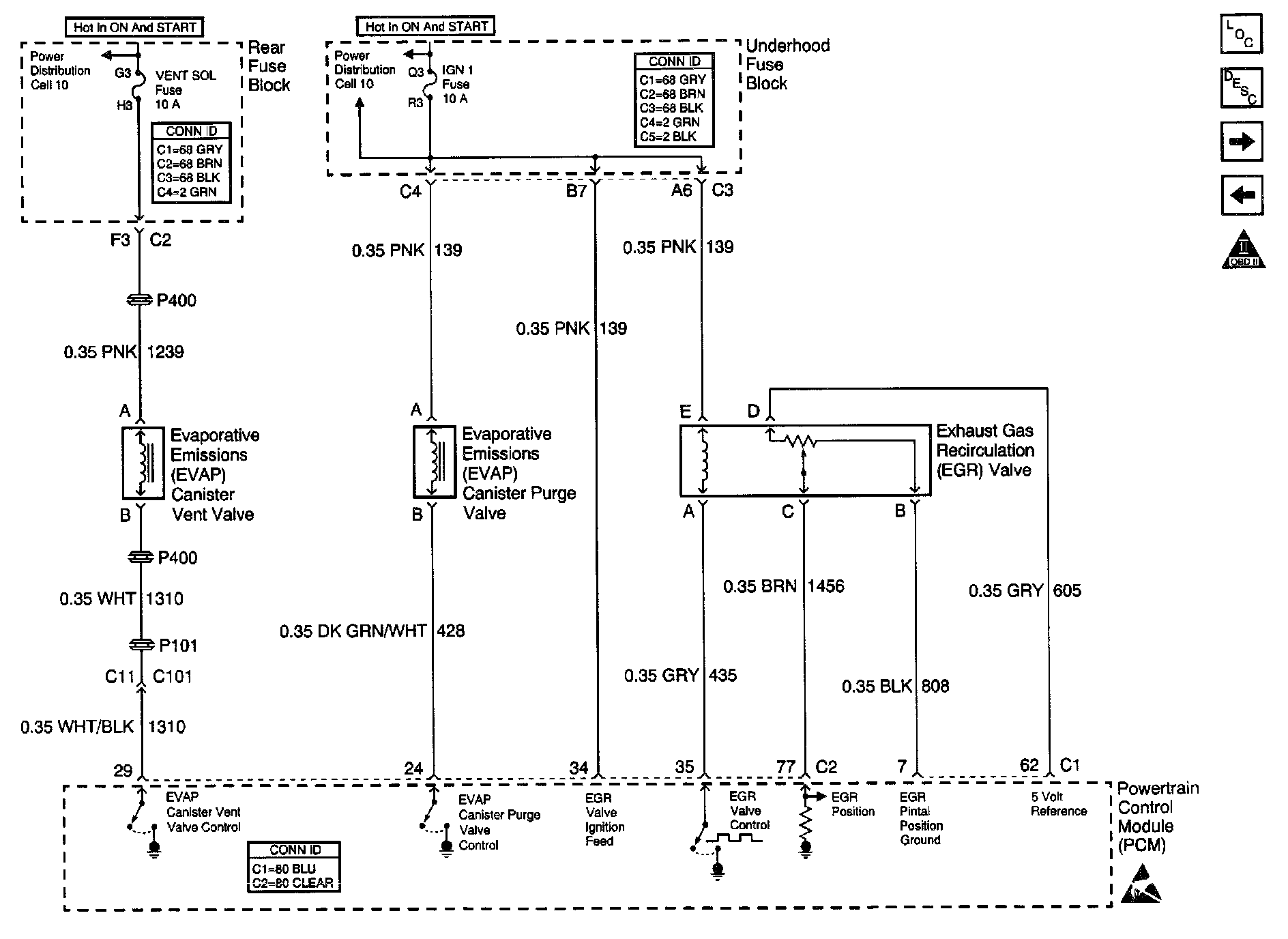
[1][2]EVAP and EGR Valve




MAF and IAC




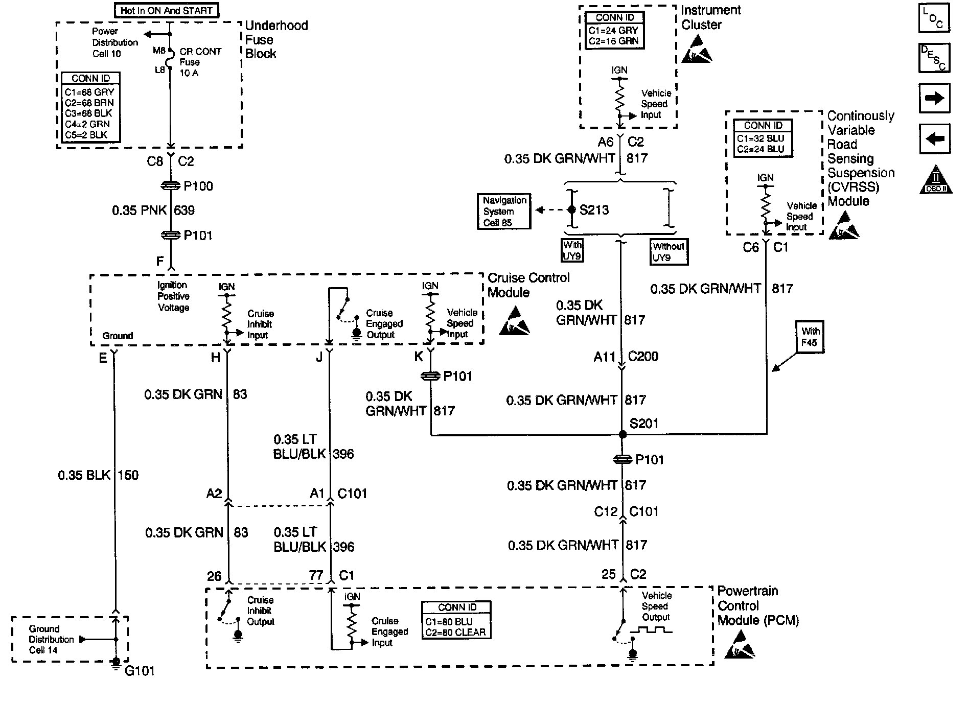
Cruise Control Module




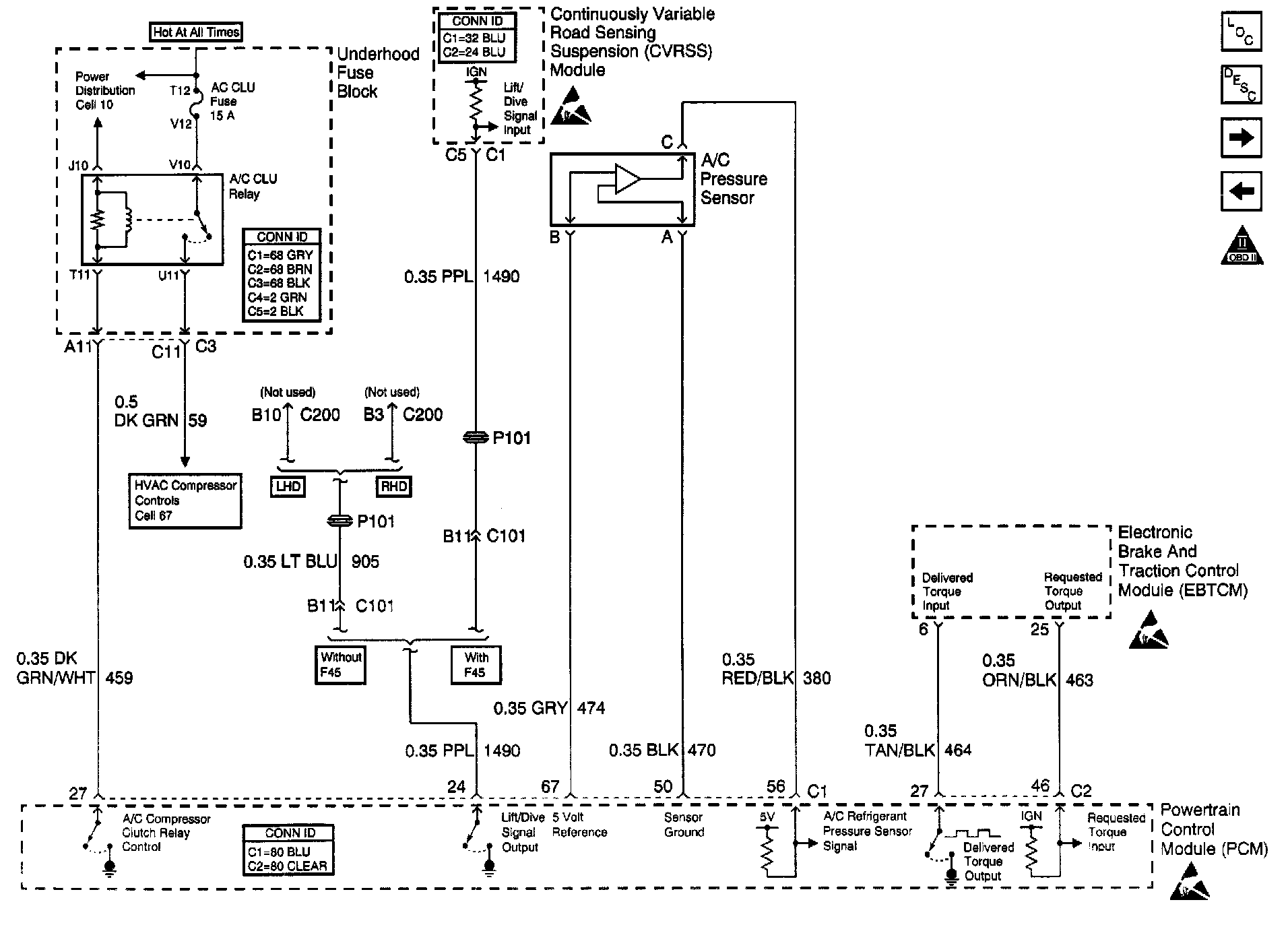
A/C Relay and Pressure Sensor, CVRSS and EBTCM




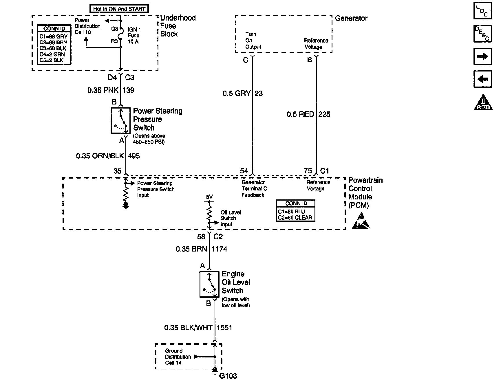
Generator, Power Steering Pressure Switch and Oil Level Switch