Operation CHARM: Car repair manuals for everyone.
Manuals through 2025 now available!

Our trusted friends have launched a new website named LEMON, which has newer manuals. It also contains all the CHARM manuals.

LEMON is the spiritual successor to CHARM, I recommend you try it!

Link: lemon-manuals.la or lemon-manuals.org.ua

(Some people have issue connecting. LEMON is investigating. For now, use Firefox or change your DNS server)

Or, hide this message: temporarily or permanently

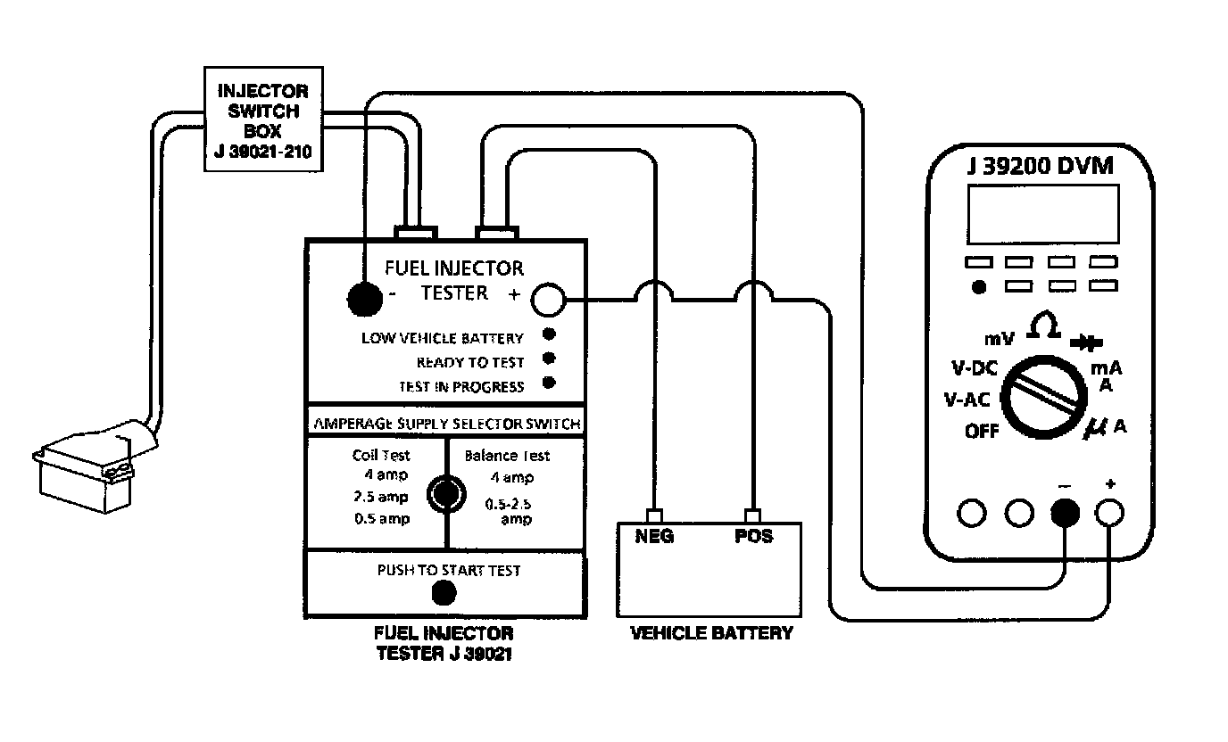
Fuel Injector Coil Test

Diagnostic Chart:




Schematic:




TEST DESCRIPTION
The numbers below refer to the step numbers on the diagnostic table.
2. This step is used to set up the injector coil test. Also read the instructions included with the fuel injector tester.
3. Engine coolant temperature affects the tool's ability to detect a faulty injector. If the engine coolant temperature is not between 50°F and 95°F, allow the vehicle to warm or cool as necessary.
4. Due to a current surge, the first second of the voltage reading may be inaccurate; therefore, begin recording after the first second of the voltage reading. The voltage specification should be within range. The voltage reading may increase throughout the test as the injector windings warm up and the resistance changes. An erratic voltage reading (one that jumps up and down) would indicate an intermittent connection within the fuel injector.