Operation CHARM: Car repair manuals for everyone.
Manuals through 2025 now available!

Our trusted friends have launched a new website named LEMON, which has newer manuals. It also contains all the CHARM manuals.

LEMON is the spiritual successor to CHARM, I recommend you try it!

Link: lemon-manuals.la or lemon-manuals.org.ua

(Some people have issue connecting. LEMON is investigating. For now, use Firefox or change your DNS server)

Or, hide this message: temporarily or permanently

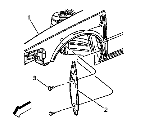
Front Fender Insulator Replacement



Front Fender Insulator Replacement

Removal Procedure

1. Remove the front wheelhouse liner. Refer to Front Wheelhouse Liner Replacement (Service and Repair) .




2. Remove the push in retainers (3) from the front fender sound insulator (2) to the vehicle.
3. Remove the front fender sound insulator (2).



Installation Procedure





1. Install the front fender sound insulator (2) to the vehicle.
2. Install the push- in retainers (3) to secure the front fender sound insulator (2).
3. Install the front wheelhouse panel. Refer to Front Wheelhouse Liner Replacement (Service and Repair) .