Operation CHARM: Car repair manuals for everyone.
Manuals through 2025 now available!

Our trusted friends have launched a new website named LEMON, which has newer manuals. It also contains all the CHARM manuals.

LEMON is the spiritual successor to CHARM, I recommend you try it!

Link: lemon-manuals.la or lemon-manuals.org.ua

(Some people have issue connecting. LEMON is investigating. For now, use Firefox or change your DNS server)

Or, hide this message: temporarily or permanently

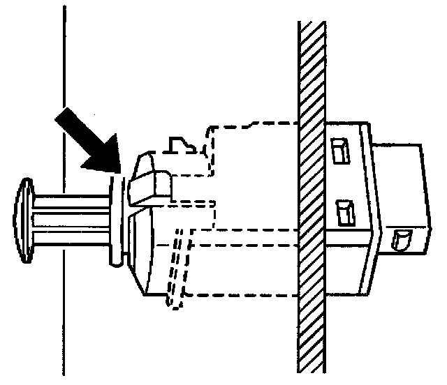
Brake Switch (Cruise Control): Service and Repair

CRUISE RELEASE SWITCH REPLACEMENT

REMOVAL PROCEDURE




1. Remove the LH sound insulator.
2. Remove the LH front floor air outlet duct.
3. Press the brake lever.
4. Press the switch lugs while removing the switch from the rear of the brake pedal bracket.
5. Disconnect the switch harness connector.

INSTALLATION PROCEDURE




1. Pull about 2/3 in on the locking sleeve (2) in order to fully extend the actuating pin (1).
2. Connect the switch connector.
3. Apply the brake pedal while installing the switch into the brake pedal bracket.




4. Fully seat the switch into the bracket until the locking lugs snap into place.

IMPORTANT: The switch adjusting pin self-adjusts when the brake pedal is returned to the non-applied position during the next step.




5. Pull up on the brake pedal (1).
6. Press the locking sleeve (2) into the switch.
7. Install the LH front floor air outlet duct.
8. Install the LH sound insulator.
9. Verify the cruise control system operation.