Electronic Brake Control Module: Service and Repair
Electronic Brake Control Module (EBCM Replacement)Removal Procedure
1. Turn the ignition switch to the OFF position.
2. Remove the power steering fluid reservoir bolt (2).
3. Lay the power steering fluid reservoir (1) to one side.
4. Remove the upper radiator hose from the engine only.
5. Move the radiator hose to one side.
6. Remove the cover from the relay center (1).
7. Remove the Engine Control Module (ECM) (2) from the relay center (1).
8. Move the ECM harness to one side.
Notice:
^ To prevent equipment damage, never connect or disconnect the wiring harness connection from the EBCM with the ignition switch in the ON position.
^ Avoid getting water, brake fluid or engine coolant into the socket of the EBCM/EBTCM connector. Failure to observe this precaution could result in damage to the EBCM/EBTCM.
9. Pull out lock tab (1) from EBCM harness connector.
10. Disconnect the EBCM harness connector.
Important: Note the locations of the brake pipes in order to aid in installation.
11. Disconnect the wheel cylinder brake pipes (2) from the BPMV(1).
12. Disconnect the master cylinder brake pipes (2) from the BPMV(1).
13. Plug the brake pipes to prevent loss of fluid and entrance of dirt.
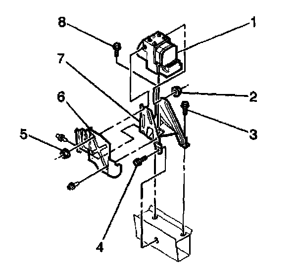
14. Remove the two nuts (2) that connect the BPMV (1) to the BPMV bracket.
15. Slide the heat shield (3) off the insulator stud (2).
16. Move brake pipes to one side.
Important: Reposition the brake pipes only as necessary to remove the BPMV from the bracket.
Notice: When removing the brake pressure modulator valve, protect the vehicle exterior from possible brake fluid spillage. Brake fluid can cause damage to painted surfaces.
17. Remove the BPMV and EBCM (1) as an assembly from the bracket (7).
18. Remove EBCM if replacing the BPMV only.
Installation Procedure
1. Install EBCM if replacing the BPMV only.
2. Install BPMV and EBCM (1) as an assembly into the BPMV bracket (7). Align the flats of the studs on the BPMV (1) with the BPMV bracket (7). Make sure the BPMV is all the way down onto the lower insulator stud.
3. Slide the heat shield (3) onto the insulator stud (2).
Notice: Refer to Fastener Notice in Service Precautions.
4. Install the two BPMV to BPMV bracket nuts (2).
Tighten the two BPMV to BPMV bracket nuts to 12 Nm (106 inch lbs.).
Important:
^ If a new BPMV is being installed, remove the shipping plugs from the valve openings in the compartment during the next step.
^ Use the locations noted during removal.
Caution: Make sure brake pipes are correctly connected to brake pressure modulator valve. If brake pipes are switched by mistake, Wheel lockup will occur and personal injury may result. The only two ways this condition can be detected are by using a Scan Tool or by doing an Antilock stop.
Notice: Refer to Fastener Notice in Service Precautions.
5. Install the master cylinder brake pipes (2) on the BPMV (1)
6. Install the wheel cylinder brake pipes (2) on the BPMV (1).
Tighten all of the brake pipe fittings to 15 Nm (11 ft. lbs.).
7. Connect the EBCM harness connector.
8. Push in lock tab (1).
9. Install the ECM (2) into the relay center (1).
10. Install the relay center cover.
11. Install the upper radiator hose to the engine.
12. Install the power steering fluid reservoir (1).
13. Fill and bleed the brake hydraulic system.
14. Turn the ignition switch to the ON position, engine off.
15. Perform the Diagnostic System Check - ABS