Operation CHARM: Car repair manuals for everyone.
Manuals through 2025 now available!

Our trusted friends have launched a new website named LEMON, which has newer manuals. It also contains all the CHARM manuals.

LEMON is the spiritual successor to CHARM, I recommend you try it!

Link: lemon-manuals.la or lemon-manuals.org.ua

(Some people have issue connecting. LEMON is investigating. For now, use Firefox or change your DNS server)

Or, hide this message: temporarily or permanently

Gear Tooth Contact Pattern Check

Gear Tooth Contact Pattern Check

Inspection and Diagnosis
A close examination of the differential prior to taking it apart often reveals valuable information as to the extent and the type of repairs or adjustments necessary. This information and the report of the malfunction provides a basis for determining the degree of teardown required. Frequent causes of axle noise are improper backlash, differential drive pinion gear bearing preload, or a combination of these items. A few simple adjustments may be all that are necessary to correct the problem. Inspect the following items and record and analyze the results before removing the differential case from the housing:
^ Inspect the backlash.
^ Inspect the total differential preload.
^ Inspect the tooth contact pattern.

Use care at all times to keep dirt and other foreign matter, such as grinder shavings, dirt, or particulate contaminants, away from the differential to prevent the possibility of subsequent failure.

Differential Ring Gear Tooth Nomenclature
The drive side of the gear tooth curves outward, or convex. The concave side is the coast side. The end of the tooth nearest the center of the ring gear is the toe end. The end of the tooth farthest away from the center is the heel end. The toe end of the tooth is smaller than the heel end.

Tooth Contact Pattern Test

^ Tools Required
- J 42178 Differential Side and Pinion Alignment Kit

Important: It is very important that the tooth contact be tested before the differential is taken apart. Variations in the differential and/or drive pinion gear inner bearing may cause the drive gear to be too close, or too far away, from the ring gear.

1. Remove the differential.
2. Clean all the dirt from the rear axle housing cover area before removing the cover.
3. Remove the rear axle housing cover.
4. Wipe the axle lubricant out of the housing.
5. Carefully clean each tooth of the ring gear.
6. Use a medium stiff brush to apply gear marking compound, GM P/N 1052351 or equivalent, sparingly to all the ring gear teeth. When properly applied the area of the differential drive pinion gear tooth contact is visible when hand load is applied.
7. Insert the J 42178 to the differential side bearing bore.
8. Use a ratchet to hold the J 42178 stationary.
9. Rotate the pinion gear flange so that the ring gear rotates one full revolution.
10. Reverse the rotation so that the ring gear rotates one revolution in the opposite direction.
11. Observe the pattern on the ring gear teeth and compare to the following:





^ Low Flank Contact (evident by contact in the valley between the gear teeth): Decrease the pinion gear bearing shim thickness, this will move the pinion gear out toward the ring gear centerline.





^ High Face Contact (evident by contact on the outboard edge of the gear tooth): Increase the pinion gear bearing shim thickness, this will move the pinion gear in toward the ring gear centerline.





^ Toe Contact (evident by contact on the lower edge of the gear tooth): Increase the backlash, this will the area of pinion gear contact with the ring gear toward the heel.





^ Heel Contact (evident by contact on the upper edge of the gear tooth): Decrease the backlash, this will move the of pinion gear contact with the ring gear toward the toe.





^ Desired Contact Pattern: Pinion gear contact in center of the ring gear tooth.
12. Reinstall the rear axle housing cover.
13. Install the differential to the vehicle.

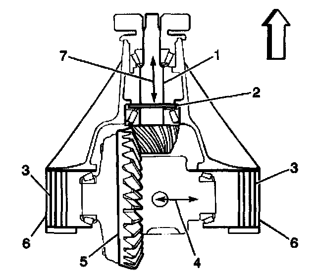
Adjustments Affecting Tooth Contact





The following two adjustments can be made which will affect the tooth contact pattern:
^ The backlash
^ The position of the drive pinion gear (1) in the housing

The effects of bearing preloads are not readily apparent on hand-loaded tooth contact pattern tests.

Backlash is adjusted by means of variable thickness adjuster rings (3). They move the entire differential closer to, or farther from, the drive pinion gear (1). These are also used to set the differential bearing carrier bearing preload. If the thickness of the right snap ring (3) is increased, along with decreasing the left snap ring (3), backlash (4) increases. The backlash decreases if the left snap ring thickness is increased, along with a decrease in the right snap ring thickness.

The position of the differential drive pinion gear is adjusted by increasing or decreasing the drive pinion gear bearing shim (2) thickness between the drive pinion gear inner bearing and the housing. A shim (2) is used in the axle to compensate for manufacturing tolerances. Increasing the thickness moves the drive pinion gear (1) closer to the centerline of the ring gear (5). Decreasing the shim thickness moves the drive pinion gear (1) farther away from the centerline of the ring gear (5).