Operation CHARM: Car repair manuals for everyone.
Manuals through 2025 now available!

Our trusted friends have launched a new website named LEMON, which has newer manuals. It also contains all the CHARM manuals.

LEMON is the spiritual successor to CHARM, I recommend you try it!

Link: lemon-manuals.la or lemon-manuals.org.ua

(Some people have issue connecting. LEMON is investigating. For now, use Firefox or change your DNS server)

Or, hide this message: temporarily or permanently

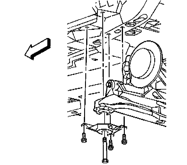
Forward Body Mount Replacement

Removal Procedure

1. Raise and support the vehicle. Refer to Vehicle Lifting.
2. Remove tires and wheels. Refer to Tire and Wheel Removal and Installation.
3. Remove the exhaust system. Refer to Exhaust System Replacement in Exhaust Systems.
4. Support the forward end of the rear support with a suitable jack.





5. Remove the forward body mount bracket retaining bolts.
6. Remove the mounting bolts securing the front of the support assembly to the vehicle.
7. Lower the jack to allow the front end of the support assembly to lower enough to allow for removal of the mounts.





8. Using a punch, bend the tabs on the mount inboard (1) and then tap the mount downward and out of the support assembly.

Installation Procedure





1. Tap the mount into the support assembly ensuring the flat is outboard (2) and the notch (1) is rear-ward upon the installation.
2. Bend the tabs outboard with a large pair of pliers, Tabs should be fully seated against chamber in support assembly retainer ring.
3. Raise the support assembly to the body of the vehicle.

Notice: Refer to Fastener Notice in Service Precautions.





4. Install the rear support front bolts and support bracket.
Tighten the rear support bolts to 191 Nm (141 ft. lbs.).
5. Install the rear support bracket retaining bolts.
Tighten the rear support bracket retaining bolts to 86 Nm (63 ft. lbs.).
6. Install the exhaust system. Refer to Exhaust System Replacement in Exhaust Systems.
7. Install the wheels and tires. Refer to Tire and Wheel Removal and Installation
8. Lower the vehicle.