Cruise Control Module: Service and Repair
CRUISE CONTROL MODULE REPLACEMENTREMOVAL PROCEDURE
1. Remove the cruise control cable.
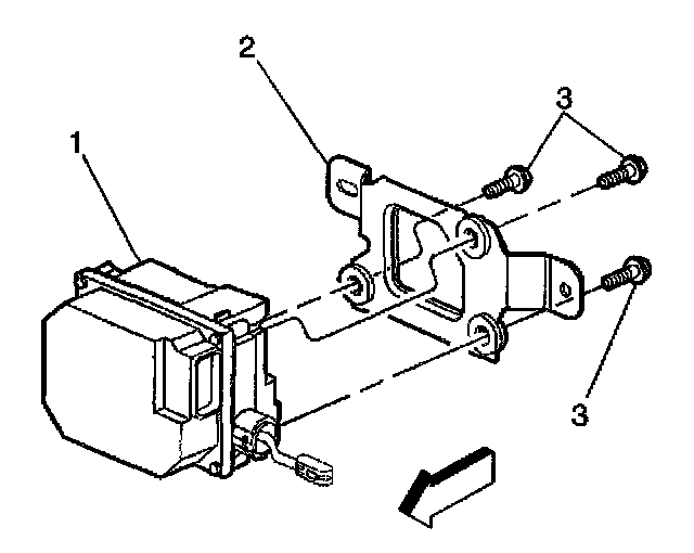
2. Remove the electrical connector from the cruise control module assembly (1).
3. Remove the fasteners (2) from the mounting studs.
4. Remove the cruise control module assembly (1) from the vehicle.
5. Remove the fasteners (3) that retain the cruise control module bracket (2) to the cruise control module.
6. Remove the cruise control module bracket (2) from the cruise control module (1).
INSTALLATION PROCEDURE
1. Install the cruise control module (1) to the bracket (2).
NOTE: Refer to Fastener Notice in Service Precautions.
2. Install the cruise control module bracket fasteners (3).
Tighten
Tighten the fasteners to 7.5 N.m (66 lb in).
3. Install the cruise control module (1) onto the studs on the cowl.
4. Install the fasteners (2).
Tighten
Tighten the cruise control mounting fasteners to 9 N.m (80 lb in).
5. Connect the electrical connector to the cruise control module (1).
6. Install the cruise control cable.