Operation CHARM: Car repair manuals for everyone.
Manuals through 2025 now available!

Our trusted friends have launched a new website named LEMON, which has newer manuals. It also contains all the CHARM manuals.

LEMON is the spiritual successor to CHARM, I recommend you try it!

Link: lemon-manuals.la or lemon-manuals.org.ua

(Some people have issue connecting. LEMON is investigating. For now, use Firefox or change your DNS server)

Or, hide this message: temporarily or permanently

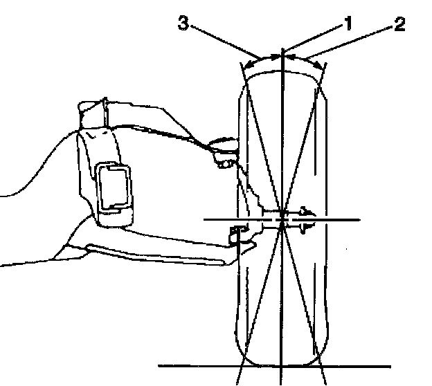
Front Caster and Camber Adjustment

Front Caster and Camber Adjustment





1. Determine if the vehicle is relative to frame or relative to ground. If caster is relative to frame, the caster values must be compensated for the measured frame angle. To determine the frame angle use a digital protractor or equivalent.
2. Frame angle is positive when higher in the rear. Measure both sides of the frame and take an average from those measurements. Then add the average frame angle to the caster reading obtained in step 5 of this procedure when making adjustments.





3. Frame angle is negative when lower in the rear. Measure both sides of the frame and take an average from the measurements. Then subtract the average frame angle from the caster reading obtained in step 5 of this procedure when making adjustments.
4. The caster and camber adjustments are made by rotating the offset cam bolt and the cam in the slotted frame bracket in order to reposition the control arm.

Important: Before adjusting the caster and camber angles, jounce the front bumper three times to allow the vehicle to return to normal height. Measure and adjust the caster and the camber with the vehicle at curb height. The front suspension Z dimension is indicated in Trim Heights.

5. For an accurate reading, do not push or pull on the tires during the alignment process.





6. Determine the caster angle (2). Be sure to compensate for frame angle where required.





7. Determine the positive camber (2) or negative camber (3) angle.





8. Remove the pinned adjusting cam insert. Do not reinstall the cam insert.
9. Loosen the upper control arm cam adjustment bolts.

Notice: Refer to Fastener Notice in Service Precautions.

10. Adjust the caster and the camber angle by turning the cam bolts until the specifications have been met.
When the adjustments are complete, hold the cam bolt head in order to ensure the cam bolt position does not change while tightening the nut.
Tighten the cam nuts to 190 Nm (140 ft. lbs.).
11. Verify that the caster and the camber are still within specifications. When the caster and camber are within specifications, adjust the toe.