Operation CHARM: Car repair manuals for everyone.
Manuals through 2025 now available!

Our trusted friends have launched a new website named LEMON, which has newer manuals. It also contains all the CHARM manuals.

LEMON is the spiritual successor to CHARM, I recommend you try it!

Link: lemon-manuals.la or lemon-manuals.org.ua

(Some people have issue connecting. LEMON is investigating. For now, use Firefox or change your DNS server)

Or, hide this message: temporarily or permanently

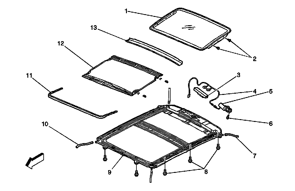
Sunroof / Moonroof



Power Sunroof Disassembled View

Sunroof Disassembled View




1 - Sunroof Window
2 - Sunroof Window Screws
3 - Sunroof Control Module
4 - Sunroof Wiring Harness
5 - Sunroof Motor/Actuator
6 - Sunroof Motor/Actuator Bolts
7 - Sunroof Drain Hose-Rear
8 - Sunroof Module Assembly Bolts
9 - Sunroof Module Assembly
10 - Sunroof Drain Hose-Front
11 - Sunroof Air Deflector
12 - Sunroof Sunshade Panel
13 - Sunroof Drain Channel