Operation CHARM: Car repair manuals for everyone.
Manuals through 2025 now available!

Our trusted friends have launched a new website named LEMON, which has newer manuals. It also contains all the CHARM manuals.

LEMON is the spiritual successor to CHARM, I recommend you try it!

Link: lemon-manuals.la or lemon-manuals.org.ua

(Some people have issue connecting. LEMON is investigating. For now, use Firefox or change your DNS server)

Or, hide this message: temporarily or permanently

Navigation System: Service and Repair

NAVIGATION DATA PROCESSOR REPLACEMENT

REMOVAL PROCEDURE




1. Remove the rear shelf panel.
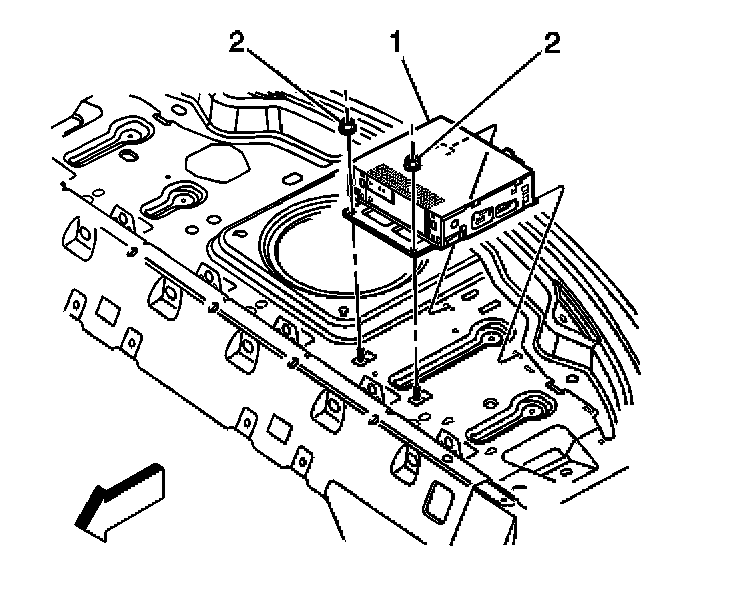
2. Disconnect the navigation processor electrical connector (1).
3. Disconnect the coaxial cables from the navigation processor.




4. Remove the nuts (2) securing the navigation processor (1) to the rear shelf.
5. Remove the navigation processor (1) from the rear shelf.

INSTALLATION PROCEDURE




1. Install the navigation processor (1) to the rear shelf.

NOTE: Refer to Fastener Notice in Service Precautions.

2. Install the nuts securing the navigation processor to the rear shelf.

Tighten
Tighten the fasteners to 9 N.m 80 lb in.




3. Connect the electrical connector (1).
4. Connect the coaxial cables to the tuner assembly.
5. Reinstall the rear shelf.