Operation CHARM: Car repair manuals for everyone.
Manuals through 2025 now available!

Our trusted friends have launched a new website named LEMON, which has newer manuals. It also contains all the CHARM manuals.

LEMON is the spiritual successor to CHARM, I recommend you try it!

Link: lemon-manuals.la or lemon-manuals.org.ua

(Some people have issue connecting. LEMON is investigating. For now, use Firefox or change your DNS server)

Or, hide this message: temporarily or permanently

Housing Assembly HVAC: Service and Repair

HVAC MODULE ASSEMBLY REPLACEMENT

TOOLS REQUIRED
- J 39400-A Halogen Leak Detector
- J 38185 Hose Clamp Pliers
- J 45689 A/C Quick Joint Tool

REMOVAL PROCEDURE
1. Recover the refrigerant.
2. Remove the battery.
3. Drain the coolant.




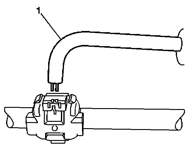
4. Using the J 38185 disconnect the heater inlet hose (1).




5. Using the J 38185 disconnect the heater outlet hose (1).
6. Disconnect both A/C lines at the cowl.




7. Using the J 45689 (1) insert the probe end into the two small openings of the plastic quick joint.

IMPORTANT: The body of the tool should be parallel to the A/C line.

8. Remove both quick joint clamps.
9. Disconnect both A/C lines.




10. Remove the IP Carrier.
11. Remove the air inlet assembly.
12. Disconnect the HVAC module electrical connector.
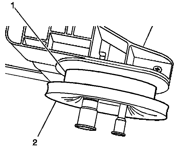
13. Disconnect the HVAC module drain tube (2) from the floor.




14. Press the tab and release the left rear duct from the HVAC module.




15. Disconnect the left rear heater duct from the HVAC module.




16. Press the tab and release the right rear duct from the HVAC module.




17. Disconnect the right rear heater ducts from the HVAC module.




18. Remove the lower left HVAC module mounting nut (1).




19. Remove the upper left HVAC module mounting nut (1).
20. Remove the HVAC module from the vehicle.




21. Remove the foam from the A/C lines.
22. Remove the foam from around the heater lines.

INSTALLATION PROCEDURE




1. Install the thick foam packing (1) on the heater core pipes.
2. Install the thin foam packing (2) on the heater core pipes.




3. Install the thick foam packing (1) on the A/C lines.
4. Install the thin foam packing (2) on the A/C lines.
5. Install the HVAC module into the vehicle.
6. Install the upper left HVAC module mounting nut (1).

NOTE: Refer to Fastener Notice in Service Precautions.

Tighten
Tighten the nut to 9 N.m (80 lb in).




7. Install the lower left HVAC module mounting nut (1).
Tighten
Tighten the nut to 9 N.m (80 lb in).
8. Connect the rear heater ducts to the HVAC module.
9. Connect the drain tube to the bottom of the HVAC module.




10. Connect the drain tube (2) to the floor.
11. Connect the HVAC electrical connector.
12. Install the air inlet assembly.




13. Lubricate the O-rings of the A/C line with refrigerant oil before connecting the A/C lines.




14. Install the A/C line and A/C line quick connect line clamp (1) to the evaporator.




15. Engage the clamp.

IMPORTANT: Press the A/C line quick connect line clamp together until you hear it engage.




16. Install the A/C line and A/C line quick connect line clamp (1) to the evaporator.




17. Engage the clamp.

IMPORTANT: Press the A/C line quick connect line clamp together until you hear it engage.




18. Connect the heater inlet hose (1) using J 38185.




19. Connect the heater outlet hose (1) using J 38185.
20. Install the IP carrier.
21. Install the battery.
22. Fill the coolant.
23. Evacuate and recharge the AC system.
24. Leak test the fittings of the component using J 39400-A.