Operation CHARM: Car repair manuals for everyone.
Manuals through 2025 now available!

Our trusted friends have launched a new website named LEMON, which has newer manuals. It also contains all the CHARM manuals.

LEMON is the spiritual successor to CHARM, I recommend you try it!

Link: lemon-manuals.la or lemon-manuals.org.ua

(Some people have issue connecting. LEMON is investigating. For now, use Firefox or change your DNS server)

Or, hide this message: temporarily or permanently

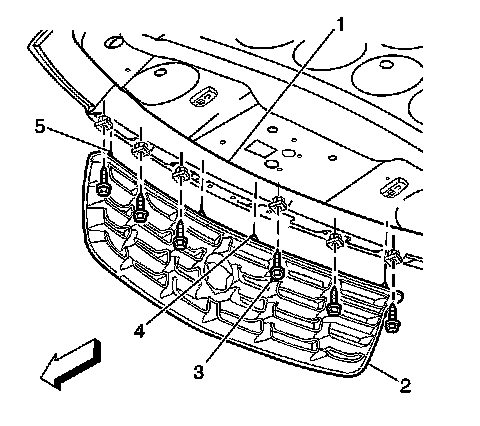
Grille: Service and Repair



Grille Replacement

Removal Procedure

1. Open the hood.




2. Remove the fasteners (3) securing the grille supports (2) to the hood (1).




3. Remove the fasteners (3) securing the grille supports (2) to the grille (4).
4. Remove the grille supports (2) from the grille (4).




5. Remove the fasteners (3) securing the grille (2) to the hood (1).
6. Remove the grille (2) from the hood (1).



Installation Procedure





1. Inspect the hood (1) to ensure that all of the plastic nuts (2) are intact.
2. If any plastic nuts (2) are damaged or missing, install new plastic nuts.




3. Locate the grille (2) on the hood (1) using the locator pins (4) for alignment.

Notice: Refer to Fastener Notice in Cautions and Notices.

4. Install the fasteners (3) in order to secure the grille (2) to the hood (1).

Tighten the fasteners to 2 N.m (18 lb in).





5. Install the grille supports (2) to the grille (4).
6. Install the fasteners (3) in order to secure the grille support (2) to the grille (4).

Tighten the fasteners to 6 N.m (53 lb in).





7. Install the fasteners (3) in order to secure the grille supports (2) to the hood (1).

Tighten the fasteners to 9 N.m (80 lb in).

8. Close the hood.