Operation CHARM: Car repair manuals for everyone.
Manuals through 2025 now available!

Our trusted friends have launched a new website named LEMON, which has newer manuals. It also contains all the CHARM manuals.

LEMON is the spiritual successor to CHARM, I recommend you try it!

Link: lemon-manuals.la or lemon-manuals.org.ua

(Some people have issue connecting. LEMON is investigating. For now, use Firefox or change your DNS server)

Or, hide this message: temporarily or permanently

Key and Lock Cylinder Coding



KEY AND LOCK CYLINDER CODING

KEY IDENTIFICATION AND USAGE

Key Identification And Usage:




The keys are double sided and reversible. The master key and valet key contain transponders that are read by the theft deterrent system when the keys are used in the ignition. The keys have 10 cut positions (1) with five different depths (2).

The keys that are furnished with the vehicle are:
- The master key, which contains a transponder (3). This key will operate all of the locks on the vehicle.
- The valet key, which contains a transponder (3). This key will operate the front door locks and the ignition lock only.
- The emergency key, which does not contain a transponder. This key will operate the door locks, rear compartment lock and the IP storage compartment lock only. This key is intended for emergency use only.

CUTTING KEYS

Cutting Keys:




The key code can be obtained from the five-digit number on the key tag that accompanies the original master and valet keys. The five-digit key code cross references to the cut and tumbler sequence. The keys have 10 key cut positions (1) and five key cut depths (2). Key cut positions are numbered 1-10, counting from the head of the key to the tip. The key cut depths are 1-5, cut depth number 1 is the deepest cut. The key transponder (3) in the master and valet key must be programmed to the vehicle. Refer to Programming Theft Deterrent System Components in Theft Deterrent.
1. Cut a blank key to the proper depth and sequence of each of the tumbler positions.
2. Inspect the mechanical operation of the key in the lock cylinders in the doors, the ignition switch, the rear compartment lid and any storage compartments:
With each side of the key pointing up inside the lock, inspect the operation of the lock in both directions.
- Turn the key both directions in each lock cylinder.
- Turn the key with each side of the key pointing upward in each lock cylinder.
3. If replacing a master or valet key, program the key transponder to the vehicle. Refer to Programming Theft Deterrent System Components.

LOCK CYLINDER TUMBLER OPERATION
Each of the four cut depths on the key has corresponding tumblers (sometimes referred to as plates or wafers). The tumbler depth number is stamped on the tumblers for identification. The IP storage compartment lock cylinder also require a retainer tumbler. The retainer tumbler is not moved by the key, its function is to retain the IP storage compartment lock cylinder in the lock assembly.

ASSEMBLING AND CODING IGNITION LOCK CYLINDER
The ignition lock cylinder uses only seven of the ten cut positions, 3 through 9. The tumbler positions are staggered from side to side, four on one side and three on the other.




1. Hold the cylinder (7) so that the side with four tumbler spring wells is facing up.
2. Insert tumbler springs (5) into the four spring wells.
3. The first tumbler to be loaded will be the 3rd key cut position (the 3rd number in the key code). Install the first tumbler (4) in the slot nearest the front of the lock cylinder, this is the side into which the key would be inserted.
4. Install the three remaining tumblers on this side of the lock cylinder, key cut positions 5, 7 and 9.
5. Snap the tumblers into place with light hand pressure.
6. Check for correct loading of the tumblers (4) by inserting the key into cylinder (7). All of the tumblers should be flush with the lock cylinder.
7. Turn the cylinder (7) so that the side with the 3 tumbler spring wells is facing up.
8. Insert the tumbler springs (5) into the three spring wells.
9. Install the tumbler (4) for the key cut position 4 into the slot nearest to the front of the lock cylinder.
10. Install the 2 remaining tumblers, key cut positions 6 and 8, on this side of the lock cylinder.
11. Snap the tumblers into place with light hand pressure.
12. Inspect for correct loading of the tumblers (4) by inserting the key into cylinder (7). All of the tumblers should be flush with the lock cylinder.
13. Lightly lubricate the tumbler (4) surfaces using the provided lubrication.
14. With the key inserted into the housing, align the retaining bar with the groove on the inside diameter of the cylinder housing. This groove extends through to the back of the lock housing (6).
15. Lifting the flat spring and button, install the cylinder (7) into the cylinder housing (6). The retainer bar snaps into place when the cylinder (7) is fully seated.

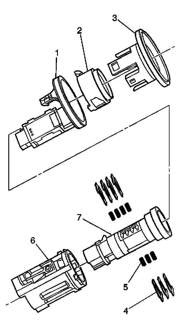
ASSEMBLING AND CODING DOOR LOCK CYLINDER
The door lock cylinder only uses seven of the ten cut positions, 3 through 9. The tumbler positions are staggered from side to side (4 on one side and 3 on the other). The left and right door lock cylinders are identical. The lock pawl determines which side of the vehicle the lock cylinder is on.




1. Hold the cylinder (5) so that the side with 4 tumbler spring wells faces up.

IMPORTANT: The door lock cylinder tumblers are not self-retaining. Hold the tumblers in place when the key is not in the lock cylinder. Hold the lock tumblers (12) in place when performing the next steps.

2. Insert tumbler springs (11) into the four spring wells.
3. Install the tumbler for key cut position 3 in the slot nearest to the front of the lock cylinder.
4. Install the 3 remaining tumblers, key cut positions 5, 7 and 9, on this side of the lock cylinder.
5. Snap the tumblers into place with light hand pressure.
6. Check for correct loading of the tumblers (12) by inserting the key into cylinder (5). All of the tumblers should be flush with the lock cylinder.
7. Turn the cylinder (5) so that the side with 3 tumbler spring wells faces up.
8. Insert the tumbler springs (11) into the 3 spring wells.
9. Install the tumbler for key cut position 4 into the slot nearest the front of the lock cylinder.
10. Install the 2 remaining tumblers for key cut positions 6 and 8 on this side of the lock cylinder.
11. Snap the tumblers into place with light hand pressure.
12. Check for correct loading of the tumblers (12) by inserting the key into cylinder (5). All of the tumblers should be flush with the lock cylinder.
13. Lightly lubricate the tumbler (12) surfaces using the provided lubrication.
14. Install the 2 plate springs (6) into the 2 spring wells in the head of the door lock cylinder (5).
15. Snap the shutter assembly (8) onto the cylinder.
16. Insert the key into the lock cylinder.
17. Place the detent spring (10) into the spring well located on the side of the lock cylinder (5).
18. Carefully place the detent ball (9) on the detent spring (10).
19. Depress the detent ball and spring and insert the cylinder (5) into the cylinder housing (4).

CAUTION: Wear safety glasses in order to avoid eye damage.

20. Install the lock pawl (3).
21. Install the lock pawl E-clip (2) to retain the lock pawl.
22. Remove the key from the lock cylinder (5).
23. Install the lock cylinder cap (7) by aligning the notch in the cap with the large drain slot in the lock housing (4). Press the cap into place with light hand pressure.

ASSEMBLING AND CODING REAR COMPARTMENT LID LOCK
The rear compartment lock cylinder only uses 7 of the 10 cut positions, 3-9. The tumbler positions are staggered from side to side (4 on one side and 3 on the other).




1. Hold the cylinder (5) so that the side with 4 tumbler spring wells faces up.
2. Insert the tumbler springs (4) into the 4 spring wells.
3. Insert the tumbler (6) for key cut position 3 into the slot nearest to the front of the lock cylinder.
4. Install the 3 remaining tumblers, key cut positions 5, 7 and 9, on this side of the lock cylinder.
5. Snap the tumblers into place with light hand pressure.
6. Check for correct loading of the tumblers (6) by inserting the key into cylinder (5). All of the tumblers should be flush with the lock cylinder.
7. Turn the cylinder (5) so that the side with 3 tumbler spring wells faces up.
8. Insert the tumbler springs (4) into the 3 spring wells.
9. Install the tumbler (6) for key cut position 4 into the slot nearest to the front of the lock cylinder.
10. Install the 2 remaining tumblers, key cut positions 6 and 8, on this side of the lock cylinder.
11. Snap the tumblers into place with light hand pressure.
12. Inspect for the correct loading of the tumblers (6) by inserting the key into the cylinder (5). All of the tumblers should be flush with the lock cylinder.
13. Lightly lubricate the tumbler (6) surfaces using the provided lubrication.
14. Install the lock cylinder (5) into lock cylinder housing (12).

IMPORTANT: The key must be in the lock cylinder (5) when performing this step.

15. Rotate the lock cylinder (5) counterclockwise until it stops.
16. Remove the key from the lock cylinder (5).
17. Insert two plate springs (3) into the spring wells in the head of the lock cylinder (5).
18. Line up the shutter pins with the pin pockets and snap shutter (2) onto the lock cylinder (5), by pressing on the face of the shutter with light hand pressure.
19. Note the position of the two dimples on the side of the lock cylinder housing.
20. Align the cut-out on dust cover (1) with widest lug on the lock cylinder housing (12).
21. Install the dust cover (1) over head of the lock cylinder housing (12).
22. Using a small punch or drift, stake the dust cover (1) onto the lock cylinder housing (12) at the 2 dimples on the side of the lock cylinder.
23. Align the widest slot on the lock cylinder housing (12) with the widest rib in the inside diameter of the base (7).
24. Install the cylinder and housing (12) into the back of the base assembly (7). Use thumb pressure, as necessary.
25. Install the compression spring (13) into the back of the base assembly (7)
26. Assemble the torsion spring (11) onto the lock cylinder shaft (9).
27. Slide the torsion spring (11) toward the large end of the shaft (9) with the interior leg of the spring facing the larger end of the shaft.
28. Align the ribs on the inner surface of the switch (10) bore with the grooves on the shaft (9).
29. Install the shaft (9) through the switch (10) to the following position:
- The wires on the switch (10) face the large end of the shaft (9).
- The large groove on the shaft (9) is 180 degrees from the switch wires (10).
30. Install switch and shaft (1 and 3) into the rear of the retainer (14).
31. Looking at the large end of shaft (9), rotate shaft counterclockwise until it stops.
32. Align the retainer (14) to the base (7). Align the wide slot on the retainer to the widest rib on the inner surface of the base.
33. Push the retainer (14) inward, while turning the key in order to align the shaft (9).
34. Push in the retainer (14) to compress spring (13). Turn the retainer (14) approximately 1/8 turn counterclockwise.
35. Engage the torsion spring (11) onto the lug on the retainer (14).
36. Install the retainer clip (8) onto the base (7).
37. Install the gasket onto the base (7).
38. Inspect the operation of the lock assembly. The torsion spring (11) should provide a counterclockwise snap back.

ASSEMBLING AND CODING IP STORAGE COMPARTMENT LOCK CYLINDER
The IP storage compartment lock only uses 4 of the 10 cut positions 7-10. A retainer tumbler is used in the IP storage compartment lock to retain the lock cylinder in the latch assembly. This retainer tumbler is not moved by the key. The retainer tumbler occupies the slot closest to the head of the IP storage compartment lock cylinder and should come already installed in the cylinder.




1. Hold the cylinder (3) so that the side with 4 tumbler spring wells is facing up.
2. Insert tumbler springs (2) into the 4 spring wells.
3. Install the tumbler (1) for key cut position 7 into the slot nearest to the front of the lock cylinder.
4. Install the 3 remaining tumblers, key cut positions 8, 9 and 10, into the cylinder.
5. Snap the tumblers into place with light hand pressure.
6. Inspect for the correct loading of the tumblers (1) by inserting the key into cylinder (3). All of the tumblers should be flush with the lock cylinder.