Operation CHARM: Car repair manuals for everyone.
Manuals through 2025 now available!

Our trusted friends have launched a new website named LEMON, which has newer manuals. It also contains all the CHARM manuals.

LEMON is the spiritual successor to CHARM, I recommend you try it!

Link: lemon-manuals.la or lemon-manuals.org.ua

(Some people have issue connecting. LEMON is investigating. For now, use Firefox or change your DNS server)

Or, hide this message: temporarily or permanently

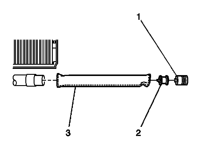
Receiver Dryer: Service and Repair

DESICCANT BAG REPLACEMENT

TOOLS REQUIRED
J 39400-A Halogen Leak Detector

REMOVAL PROCEDURE
1. Recover the refrigerant. Refer to Refrigerant Recovery and Recharging.
2. Remove the front air deflector.




3. Remove the receiver dryer bottom plug (1).
4. Remove the filter (2).




5. Remove the desiccant bag (3).

INSTALLATION PROCEDURE




1. Install the desiccant bag (3).
2. Install the filter (2).
3. Lubricate the O-rings on the plug with refrigerant oil before installing. Refer to O-Ring Replacement.

NOTE: Refer to Fastener Notice in Service Precautions.




4. Install the bottom plug (1).

Tighten
Tighten the plug to 12.5 N.m (111 lb in).

5. Install the front air deflector.
6. Lower the vehicle.
7. Add the proper amount of oil.
8. Evacuate and recharge the refrigerant.
9. Leak test the fittings of the component with J 39400-A.