Operation CHARM: Car repair manuals for everyone.
Manuals through 2025 now available!

Our trusted friends have launched a new website named LEMON, which has newer manuals. It also contains all the CHARM manuals.

LEMON is the spiritual successor to CHARM, I recommend you try it!

Link: lemon-manuals.la or lemon-manuals.org.ua

(Some people have issue connecting. LEMON is investigating. For now, use Firefox or change your DNS server)

Or, hide this message: temporarily or permanently

Jump Starting: Service and Repair

JUMP STARTING IN CASE OF EMERGENCY

CAUTION: Batteries produce explosive gases. Batteries contain corrosive acid. Batteries supply levels of electrical current high enough to cause burns. Therefore, in order to reduce the risk of personal injury while working near a battery, observe the following guidelines:
- Always shield your eyes.
- Avoid leaning over the battery whenever possible.
- Do not expose the battery to open flames or sparks.
- Do not allow battery acid to contact the eyes or the skin.
- Flush any contacted areas with water immediately and thoroughly.
- Get medical help.


NOTE: This vehicle has a 12 volt, negative ground electrical system. Make sure the vehicle or equipment being used to jump start the engine is also 12 volt, negative ground. Use of any other type of system will damage the vehicle's electrical components.

1. Position the vehicle with the booster battery so that the jumper cables will reach.
- Do not let the 2 vehicles touch.
- Make sure that the jumper cables do not have loose ends, or missing insulation.
2. Place an automatic transmission in PARK. If equipped with a manual transmission, place in NEUTRAL and block the wheels.
3. Turn OFF all electrical loads on both vehicles that are not needed.
4. Turn OFF the ignition on both vehicles.




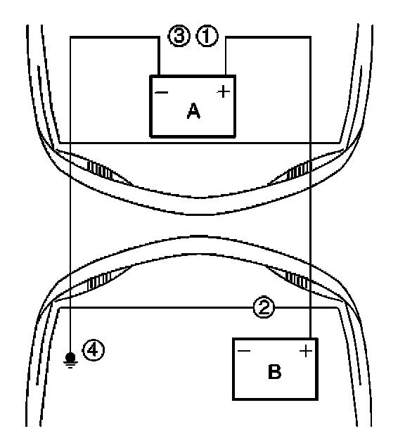
5. Connect the red positive (+) cable to the battery positive (+) terminal (2) of the vehicle with the discharged battery.
Use a remote positive (+) terminal if the vehicle has one.
6. Connect the red positive (+) cable to the positive (+) terminal (1) of the booster battery.
Use a remote positive (+) terminal if the vehicle has one.
7. Connect the black negative (-) cable to the negative (-) terminal (3) of the booster battery.

CAUTION: Do not connect a jumper cable directly to the negative terminal of a discharged battery to prevent sparking and possible explosion of battery gases.

8. The final connection is made to a heavy, unpainted metal engine part (4) of the vehicle with the discharged battery.
This final attachment must be at least 46 cm (18 in) away from the dead battery.
9. Start the engine of the vehicle that is providing the boost.

NOTE: Never operate the starter motor more than 15 seconds at a time without pausing in order to allow it to cool for at least 2 minutes. Overheating will damage the starter motor.

10. Crank the engine of the vehicle with the discharged battery.
11. The black negative (-) cable must be first disconnected from the vehicle that was boosted (4).
12. Disconnect the black negative (-) cable from the negative (-) terminal (3) of the booster battery.

NOTE: Do not let the cable end touch any metal. Damage to the battery and other components may result.

13. Disconnect the red positive (+) cable from the positive (+) terminal (1) of the booster battery.
14. Disconnect the red positive (+) cable from the remote positive (+) terminal (2) of the vehicle with the discharged battery.