Operation CHARM: Car repair manuals for everyone.
Manuals through 2025 now available!

Our trusted friends have launched a new website named LEMON, which has newer manuals. It also contains all the CHARM manuals.

LEMON is the spiritual successor to CHARM, I recommend you try it!

Link: lemon-manuals.la or lemon-manuals.org.ua

(Some people have issue connecting. LEMON is investigating. For now, use Firefox or change your DNS server)

Or, hide this message: temporarily or permanently

Service Procedure

Cadillac XLR

Notice:
Handle the electronic throttle control components carefully. Use cleanliness in order to prevent damage. Do not drop the electronic throttle control components. Do not roughly handle the electronic throttle control components. Do not immerse the electronic throttle control components in cleaning solvents of any type.

Removal

1. Using a flat-bladed tool, carefully pry the I/P courtesy lamp assembly from the left lower closeout panel.

2. Remove the push-on retaining nut from the steering column bracket stud.

3. Release the push-in retainers to the left lower closeout panel from the I/P lower support beam.

4. Insert the I/P courtesy lamp assembly up through the opening in the closeout panel.

5. Lower and remove the closeout panel. Release the notch in the right forward edge of the closeout panel from the tab on the accelerator pedal bracket.





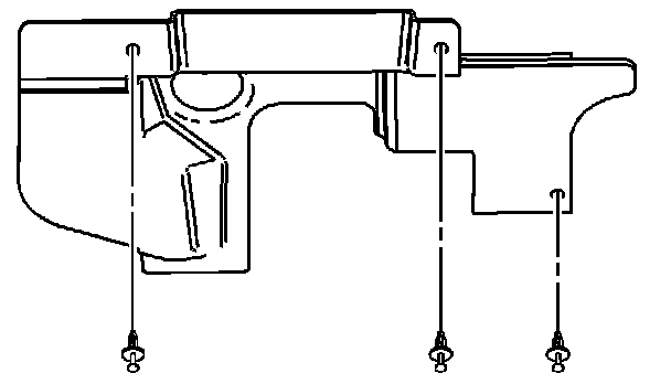
6. Disconnect the electrical connector (1) from the accelerator pedal sensor module.





7. Remove the accelerator pedal mounting bolts (1).

8. Remove the accelerator pedal (2).

Installation





1. Position the new accelerator pedal (2) to the vehicle.

2. Install the accelerator pedal bolts (1).

Tighten

Tighten the accelerator pedal bolts to 10 Nm (89 lb in).





3. Connect the accelerator pedal electrical connector (1).





4. Check for complete throttle opening, and throttle closing positions by operating the accelerator pedal. Monitor the throttle angles using a scan tool. The accelerator pedal should operate freely without binding between full closed throttle and wide-open throttle.

5. Check for an incorrect carpet fit under the accelerator pedal.

6. Insert the I/P courtesy lamp down through the opening in the closeout panel.

7. Install the closeout panel into position.

8. Secure the closeout panel push-in retainers to the I/P lower support beam.

9. Secure the notch in the right forward edge of the closeout panel to the tab on the accelerator pedal bracket. Align, and then push up to secure the panel.

10. Install the push-on retaining nut to the steering column bracket stud.

11. Align the I/P courtesy lamp to the closeout panel opening, and then push to secure the lamp.

Pontiac Grand Prix

Removal

Notice:
Handle the electronic throttle control components carefully. Use cleanliness in order to prevent damage. Do not drop the electronic throttle control components. Do not roughly handle the electronic throttle control components. Do not immerse the electronic throttle control components in cleaning solvents of any type.

1. Remove the 3 closeout panel fasteners.

2. Rotate the lamp. Remove the lamp from the panel.





3. Remove the closeout panel.

4. Disconnect the accelerator pedal electrical connector.

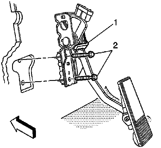
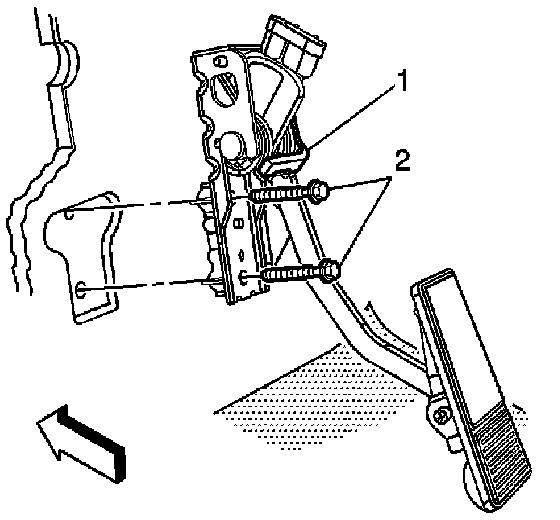
5. Remove the accelerator pedal bolts (2).

6. Remove the accelerator pedal (1) from the vehicle.

Installation





1. Position the new accelerator pedal (1) to the vehicle.

2. Install the accelerator pedal bolts (2).

Tighten

Tighten the accelerator pedal bolts to 5 Nm (44 lb-in).

3. Connect the accelerator pedal electrical connector.





4. Position the lamp to the insulator opening. Rotate the lamp.

5. Align the insulator to the lower instrument panel.

6. Install the 3 fasteners.

7. Operate the accelerator pedal and observe the APP sensor percentage using a scan tool. The accelerator pedal should operate freely, without binding between the closed throttle and wide-open throttle.

Cadillac SRX - Without Adjustable Pedals

Notice:
Handle the electronic throttle control components carefully. Use cleanliness in order to prevent damage. Do not drop the electronic throttle control components. Do not roughly handle the electronic throttle control components. Do not immerse the electronic throttle control components in cleaning solvents of any type.

Removal





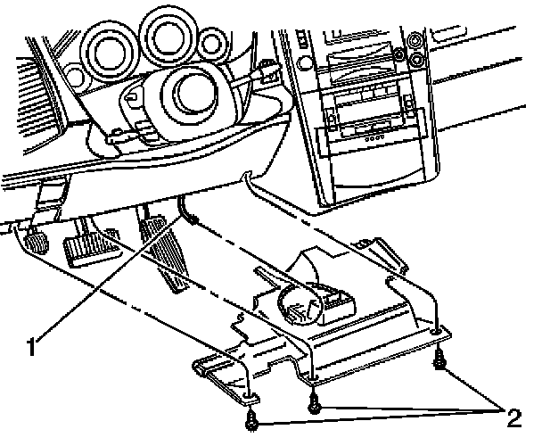
1. Remove the screws (2) securing the closeout panel to the I/P.

2. Disconnect the courtesy lamp electrical connector (1).

3. Remove the closeout panel from the I/P.





4. Disconnect the accelerator pedal position (APP) sensor electrical connector from the accelerator pedal module.

5. Remove the APP sensor mounting bolts.

6. Remove the APP sensor from the vehicle.

Installation





1. Position the APP sensor to the mounting plate.

2. Install the APP sensor mounting bolts.

Tighten

Tighten the APP sensor mounting bolts to 9 Nm (80 lb-in).

3. Connect the APP sensor electrical connector.





4. Operate the accelerator pedal and observe the APP angles using a scan tool. The accelerator pedal should operate freely, without binding between closed throttle and wide open throttle.

5. Connect the courtesy lamp electrical connector (1).





6. Align the closeout panel on the I/P.

7. Install the closeout retaining fastener (2).

Tighten

Tighten the fasteners to 2 Nm (18 lb-in).

SRX -- With Adjustable Pedals

Notice:
Handle the electronic throttle control components carefully. Use cleanliness in order to prevent damage. Do not drop the electronic throttle control components. Do not roughly handle the electronic throttle control components. Do not immerse the electronic throttle control components in cleaning solvents of any type.

Removal

1. Remove the screws (2) securing the closeout panel to the I/P.

2. Disconnect the courtesy lamp electrical connector (1).





3. Remove the closeout panel from the I/P.

4. Remove the screws (2) securing the knee bolster trim (1) to the knee bolster bracket.





5. Remove the knee bolster trim (1).

6. Remove the screws (2) securing the knee bolster bracket to the I/P

7. Remove the knee bolster bracket.

8. Remove the accelerator pedal assembly mounting nuts.

9. Remove the pedal assembly from the studs.





10. Disconnect the electrical connector from the electronic throttle control sensor.

11. Disconnect the electrical connector from the linear position sensor. This connector is located between the brake pedal assembly and the steering column. Removal of the connector retainer from the bracket allows the connector to be gently pulled down and disconnected.

12. Carefully lift the retaining tabs on the end of the accelerator pedal cable (1) using 2 thin-bladed tools.

13. Disconnect the adjustable accelerator pedal cable (1) from the pedal assembly.

14. Remove the accelerator pedal assembly from the vehicle.

Installation

Important:
Ensure that the adjustable accelerator pedal and adjustable brake pedal are synchronized in the full forward, front of vehicle position.

Important:
During the synchronization procedure, do not exceed 0.5 Nm (4.43 lb in) of torque while adjusting the pedals with the use of the cable, or the square drive.

1. Synchronize the pedals to the full forward (front of vehicle) position.

2. Synchronize the brake pedal to the full forward position. Use the instrument panel switch, the Tech II, or manually move the brake pedal as follows:

A. Use an adjustable wrench on the accelerator pedal end of the accelerator pedal cable (1).

B. Slowly rotate the accelerator cable to move the brake pedal to the full forward, front of vehicle position.

C. Remove the wrench from the vehicle.





3. The new accelerator pedal assembly should already be synchronized to the full forward position. If the pedal is not synchronized, proceed as follows before installation:

Install a square drive tool into the accelerator pedal where the cable attaches.

A. Carefully rotate the tool to move the adjustable pedal to the full forward position.

B. Remove the square drive tool.

4. Connect the adjustable accelerator pedal cable (1) to the pedal assembly.

5. Ensure that the adjustable accelerator pedal cable retaining feature is locked in place by carefully pulling on the cable.

6. Connect the electrical connector to the linear position sensor. Be sure the connector retainer is reinstalled into the appropriate hole in the bracket.





7. Connect the electrical connector to the electronic throttle control sensor (3).

8. Install the accelerator pedal assembly to the mounting studs.

9. Install the accelerator pedal assembly mounting nuts (4).

Tighten

Tighten the accelerator pedal assembly mounting nuts to 9 Nm (80 lb-in).

10. Operate the accelerator pedal and observe the APP angles using a scan tool. The accelerator pedal should operate freely, without binding between closed throttle and wide open throttle.





11. Align the tabs (1) to the I/P carrier in order to install the knee bolster bracket.

12. Install the screws (2) securing the knee bolster bracket to the I/P.

Tighten

Tighten the fasteners to 9 Nm (80 lb-in).





13. Install the knee bolster trim (1).

14. Install the retaining screws (2).

Tighten

Tighten the fasteners to 2 Nm (18 lb-in).





15. Connect the courtesy lamp electrical connector (1).

16. Align the closeout panel on the I/P.

17. Install the closeout retaining fasteners (2).

Tighten

Tighten the fasteners to 2 Nm (18 lb-in).

18. Install a scan tool.

19. Go to Memory Seat Module, Special Functions Menu.

20. Using the scan tool Output Controls, operate the pedals to the full forward position.

21. Select the Adjustable Pedal Calibration and verify that the accelerator and brake pedal position sensors are within 23 counts of one another.

22. Start the calibration procedure and allow the memory seat module to operate the pedals to the rearward stop and return to the forward stop without activating any switch inputs.