Operation CHARM: Car repair manuals for everyone.
Manuals through 2025 now available!

Our trusted friends have launched a new website named LEMON, which has newer manuals. It also contains all the CHARM manuals.

LEMON is the spiritual successor to CHARM, I recommend you try it!

Link: lemon-manuals.la or lemon-manuals.org.ua

(Some people have issue connecting. LEMON is investigating. For now, use Firefox or change your DNS server)

Or, hide this message: temporarily or permanently

Installing Engine Support Fixture

Engine Support Fixture

^ Tools Required
- J 28467-B Universal Engine Support Fixture
- J 42478 Engine Support Fixture Adapters
- J 42504 Engine Lift Bracket

Installation Procedure





1. Remove the bolt bracing the power steering return hose to the cylinder head.





2. Install the J 42504 to the cylinder head.
3. Remove the rearward strut bolts from the right and left struts towers.





4. Install the J 42478 (2) into the strut threads.
5. Place the strut adapters J 28467-33A (1) on top of the four remaining forward strut tower bolts.





6. Install the strut tower support assemblies J 28467-5A over the adapters J 42478 and J 28467-33A.





7. Install the T-Bolts to the J 42478 and J 28467-33A.





8. Install the strut tower tube J 28467-3 into the strut tower support assemblies J 28467-5A.





9. Install the 1/2 inch x 2.5 inch quick release pin J 28467-10 (2) through the strut tower support assembly J 28467-5A (3) and the strut tower tube J 28467-3 (1) on one side only.
10. Remove the upper filler panel.





11. Install the radiator shelf tube J 28467-2A on top of the strut tower tube J 28467-3 over the J 42504.





12. Install the round tube of the front support assembly J 28467-4A through the large hole in the radiator shelf tube J 28467-2A. The hole used in the radiator shelf tube J 28467-2A depends on the vehicle application.
13. Place the rubber padded foot of the front support assembly J 28467-4A on the upper tie bar.
14. Install the 7/16 inch x 2.0 inch quick release pin J 28467-9 through the hole in the front support assembly J 28467-4A in order to level the radiator shelf tube J 28467-2A.
15. Install the cross bracket assembly J 28467-1A.





16. Hand tighten the cross bracket assembly J 28467-1A wing nuts.





17. Install the lift hook J 28467-7A through the lift hook bracket J 28467-6A.
18. Install the 1/2 inch lift hook washer and lift hook wing nut J 28467-34 onto the lift hook J 28467-7A.





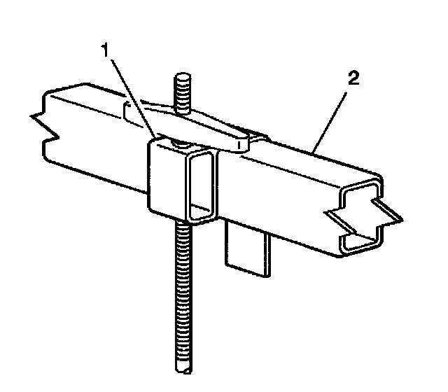
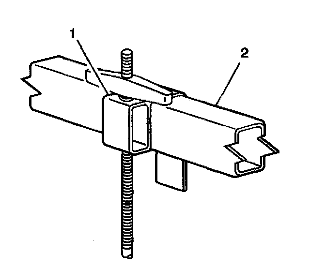
19. Install the assembled lift hook bracket J 28467-6A (1) over the strut tower tube J 28467-3 (2).
20. Adjust the assembled lift hook bracket J 28467-6A (1) in order to align the hook with the rear engine lift hook bracket.





21. Install the lift hook J 28467-7A through the rear engine lift hook bracket. Ensure the hook does not damage the surrounding components.





22. Repeat steps 17 and 18.
23. Install the assembled lift hook bracket J 28467-6A (1) over the radiator shelf tube J 28467-2A (2).
24. Adjust the assembled lift hook bracket J 28467-6A (1) in order to align the hook with the J 42504.





25. Install the lift hook J 28467-7A through the J 42504. Ensure the hook does not damage the surrounding components.





26. Hand tighten the lift hook wing nuts J 28467-34 securely to remove all slack from the engine support fixture assembly.

Removal Procedure





1. Remove the J 28467-B.
2. Remove the J 42478.

Notice: Refer to Fastener Notice in Service Precautions.

3. Install the two rearward strut bolts to the right and left struts towers.
^ Tighten the strut tower bolts to 60 Nm (44 ft. lbs.).
4. Install the upper filler panel.





5. Remove the J 42504 from the cylinder head.





6. Install the bolt bracing the power steering return hose to the cylinder head.
^ Tighten the power steering return hose retaining bolt to 50 Nm (37 ft. lbs.).