Operation CHARM: Car repair manuals for everyone.
Manuals through 2025 now available!

Our trusted friends have launched a new website named LEMON, which has newer manuals. It also contains all the CHARM manuals.

LEMON is the spiritual successor to CHARM, I recommend you try it!

Link: lemon-manuals.la or lemon-manuals.org.ua

(Some people have issue connecting. LEMON is investigating. For now, use Firefox or change your DNS server)

Or, hide this message: temporarily or permanently

Front Fender: Service and Repair



Fender Replacement - Front

Removal Procedure

1. Open the hood.
2. Remove the front fascia close-out panel.
3. Remove the headlamp.
4. Loosen the front bumper fascia.
5. Remove the fender to hood seal.
6. Remove the wheelhouse filler panel.




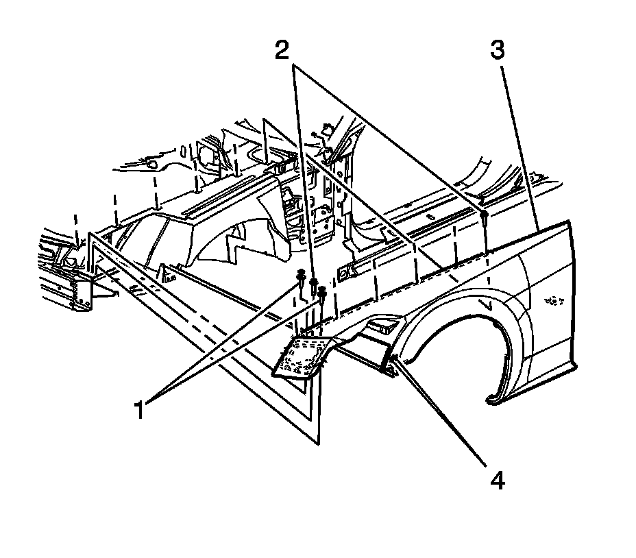
7. Remove the screws (2) securing the lower rear portion of the front fender (1) to the vehicle.




8. Remove the screws (2) securing the rear portion of the fender (1) to the vehicle.




9. Remove the push-in fasteners (1) securing the front portion of the fender (3) to the vehicle.
10. Remove the bolts (4) securing the front portion of the fender (3) to the vehicle.
11. Remove the screws (2) securing the fender (3) to the vehicle.
12. Remove the front fender (3) from the vehicle.

Installation Procedure

1. Position the fender to the vehicle.






Notice: Refer to Fastener Notice in Service Precautions.

2. Install the screws (2) securing the fender (3) to the vehicle.

Tighten the screws to 9 N.m (80 lb in).

3. Install the bolts (4) securing the front portion of the fender (3) to the vehicle.

Tighten the bolts to 9 N.m (80 lb in).

4. Install the push-in fasteners (1) securing the front portion of the fender (3) to the vehicle.




5. Install the screws (2) securing the rear portion of the fender (1) to the vehicle.

Tighten the screws to 9 N.m (80 lb in).




6. Install the screws (2) securing the lower rear portion of the front fender (1) to the vehicle.

Tighten the screws to 9 N.m (80 lb in).

7. Install the front bumper fascia.
8. Install the headlamp.
9. Install the front fascia close-out panel.
10. Install the wheelhouse filler panel.
11. Install the fender to hood seal.