Operation CHARM: Car repair manuals for everyone.
Manuals through 2025 now available!

Our trusted friends have launched a new website named LEMON, which has newer manuals. It also contains all the CHARM manuals.

LEMON is the spiritual successor to CHARM, I recommend you try it!

Link: lemon-manuals.la or lemon-manuals.org.ua

(Some people have issue connecting. LEMON is investigating. For now, use Firefox or change your DNS server)

Or, hide this message: temporarily or permanently

Skid Plate: Service and Repair



Skid Bar Replacement

Removal Procedure

1. Raise and support the vehicle. Refer to Vehicle Lifting .
2. Remove the front fascia.
3. Remove all related panels and components.
4. Support the radiator assembly.
5. Support the skid bar.




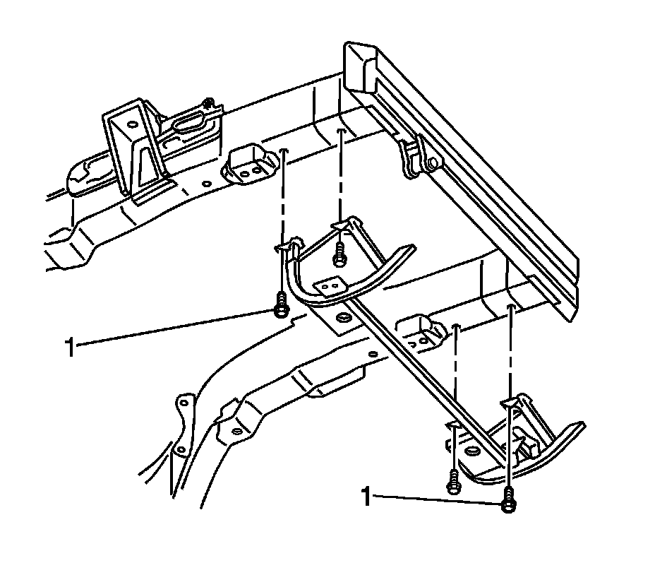
6. Remove the 4 bolts (1) attaching the skid bar to the frame rails.
7. Remove the skid bar.
8. Save all of the brackets, mounting studs, and accessories for transfer to the new skid bar.

Installation Procedure

1. Transfer all of the brackets, mounting studs, and accessories to the new skid bar.
2. Position the skid bar to the frame rails.






Notice: Refer to Fastener Notice in Service Precautions.

3. Install the 4 bolts (1) attaching the skid bar to the frame rails.

Tighten the bolts to 50 N.m (36 lb ft).

4. Install all related panels and components.
5. Install the front fascia.
6. Lower the vehicle.