Operation CHARM: Car repair manuals for everyone.
Manuals through 2025 now available!

Our trusted friends have launched a new website named LEMON, which has newer manuals. It also contains all the CHARM manuals.

LEMON is the spiritual successor to CHARM, I recommend you try it!

Link: lemon-manuals.la or lemon-manuals.org.ua

(Some people have issue connecting. LEMON is investigating. For now, use Firefox or change your DNS server)

Or, hide this message: temporarily or permanently

Window Shade: Service and Repair



Sunshade Replacement - Rear

Removal Procedure

1. Remove the rear seat back. Refer to Seat Back Replacement - Rear (Standard) (Seat Back Replacement - Rear (Standard))Seat Back Replacement - Rear (WC2, WC8) (Seat Back Replacement - Rear (WC2, WC8)) in Seats.
2. Remove the rear shelf panel assembly. Refer to Trim Panel Replacement - Rear Window Shelf (Without Sunshade) (Trim Panel Replacement - Rear Window Shelf (Without Sunshade))Trim Panel Replacement - Rear Window Shelf (With Sunshade) (Trim Panel Replacement - Rear Window Shelf (With Sunshade)) in Interior Trim.




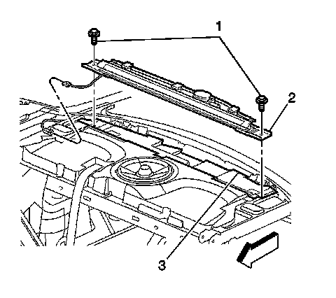
3. Remove the fasteners (1) retaining the rear sunshade (2) to the rear shelf (3).
4. Remove the rear sunshade assembly (2) from the rear shelf (3).



Installation Procedure





1. Install the rear sunshade (2) to the rear shelf (3).

Notice: Refer to Fastener Notice in Cautions and Notices.

2. Install the fasteners (1) in order to retain the rear sunshade (2) to the rear shelf (3).

Tighten the retainer fasteners to 25 N.m (18 lb ft).

3. Install the rear shelf panel. Refer to Trim Panel Replacement - Rear Window Shelf (Without Sunshade) (Trim Panel Replacement - Rear Window Shelf (Without Sunshade))Trim Panel Replacement - Rear Window Shelf (With Sunshade) (Trim Panel Replacement - Rear Window Shelf (With Sunshade)) in Interior Trim.
4. Install the rear seat back. Refer to Seat Back Replacement - Rear (Standard) (Seat Back Replacement - Rear (Standard))Seat Back Replacement - Rear (WC2, WC8) (Seat Back Replacement - Rear (WC2, WC8)) in Seats.
5. Install rear seat cushion. Refer to Seat Cushion Replacement - Rear (Seat Cushion Replacement - Rear) in Seats.