Operation CHARM: Car repair manuals for everyone.
Manuals through 2025 now available!

Our trusted friends have launched a new website named LEMON, which has newer manuals. It also contains all the CHARM manuals.

LEMON is the spiritual successor to CHARM, I recommend you try it!

Link: lemon-manuals.la or lemon-manuals.org.ua

(Some people have issue connecting. LEMON is investigating. For now, use Firefox or change your DNS server)

Or, hide this message: temporarily or permanently

Engine Support Fixture



Engine Support Fixture

Tools Required

* EN 46114 Engine Lift Brackets
* J 28467-B Universal Engine Support Fixture
* J 28467-501 Engine Support Fixture Adapters

Installation Procedure





Notice: Refer to Fastener Notice.

1. Use a M10 X 1.5 X 40 bolt (GM P/N 11519182 or equivalent) in order to install an engine lift hook bracket (OTC #7100, J 36857 or equivalent) to the front of the right (Bank 1) cylinder head in the location shown.

Tighten the lift hook bracket bolt to 65 N.m (48 lb ft).

2. Remove the electrical connector bolt and the electrical connector from the rear of the left cylinder head.




3. Use a M10 X 1.5 X 40 bolt (GM P/N 11519182 or equivalent) in order to install an engine lift hook bracket (OTC #7100, J 36857 or equivalent) to the rear of the left (Bank 2) cylinder head in the location shown.

Tighten the lift hook bracket bolt to 65 N.m (48 lb ft).




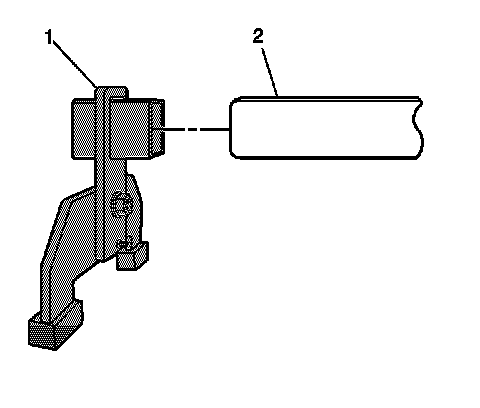
4. Loosely install the J 28467-501 (1) to the ends of the strut tower tube J 28467-3 (2).




5. Place the strut tower tube J 28467-3 and the J 28467-501 on top of both the left and right fender lips, over the engine rear lift bracket.




6. Install the radiator shelf tube J 28467-2A (2) on top of the strut tower tube J 28467-3 (1) above the engine front (right bank) lift hook bracket.




7. Install the round tube of the front support assembly J 28467-4A through the large hole in the radiator shelf tube J 28467-2A.
8. Remove the upper tie bar cover.
9. Locate the J 28467-4A front support assembly to the upper tie bar.
10. Install the J 28467-9 7/16 in x 2.0 in quick-release pin through the top hole in the J 28467-4A front support assembly.




11. Install the J 28467-1A cross bracket assembly.
12. Hand tighten the J 28467-1A cross bracket wing nuts.




13. Install the J 28467-7A bolt hook through the J 28467-6A bracket.
14. Install the J 28467-34 lift hook wing nut and washer to the J 28467-7A lift hook.
15. Repeat the previous 2 steps in order to assemble 2 lift hooks and brackets.




16. Install one of the lift hook and bracket assemblies (1) to the J 28467-3 strut tower tube (2) above the EN 46114 engine rear lift bracket.
17. Install the lift hook J 28467-7A through the EN 46114 engine rear lift bracket. Ensure the hook does not damage adjacent components.
18. Install the other lift hook and bracket assembly (1) to the J 28467-2A radiator shelf tube (2) above the engine front lift bracket.
19. Install the lift hook J 28467-7A through the EN 46114 engine front lift bracket. Ensure the hook does not damage adjacent components.
20. Hand tighten the lift hook wing nuts J 28467-34 in order to remove all slack from the engine support fixture assembly.

Removal Procedure

1. Remove the J 28467-B.
2. Remove the J 28467-501.
3. Install the wiring harness electrical connector bracket to the rear of the left (Bank 2) cylinder head.