Operation CHARM: Car repair manuals for everyone.
Manuals through 2025 now available!

Our trusted friends have launched a new website named LEMON, which has newer manuals. It also contains all the CHARM manuals.

LEMON is the spiritual successor to CHARM, I recommend you try it!

Link: lemon-manuals.la or lemon-manuals.org.ua

(Some people have issue connecting. LEMON is investigating. For now, use Firefox or change your DNS server)

Or, hide this message: temporarily or permanently

Tail Lamp: Service and Repair



TAIL LAMP REPLACEMENT

REMOVAL PROCEDURE
1. Open the rear compartment.
2. Remove the rear compartment sill plate.
3. Pull back on the rear compartment trim panel.




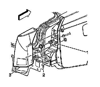
4. Disconnect the tail lamp connector (2) from the body main harness connector (1).




5. Remove the fasteners (1) that secure the tail lamp (2) to the body.




6. Pull on the tail lamp assembly (3) in order to disengage the clips (1, 2) that retain it to the body.




7. Pull on the tail lamp harness (1) in order to disengage the tail lamp harness grommet (2) from the body.
8. Remove the tail lamp assembly (3) from the vehicle.

INSTALLATION PROCEDURE




1. Position the tail lamp (3) to the body.
2. Insert the tail lamp harness (1) to the body.
3. Push the tail lamp harness grommet (2) into the body until it is fully seated.




4. Install the tail lamp locators into the body until the tail lamp retainers (1, 2) are fully seated.




5. Install the tail lamp fasteners (1) in order to secure the tail lamp (2) to the body.

NOTE: Refer to Fastener Notice in Service Precautions.

Tighten the tail lamp fasteners to 6 N.m (53 lb in).




6. Connect the tail lamp harness connector (2) to the body main harness connector (1).
7. Pull back on the rear compartment trim panel in order to reposition it in its original location.
8. Install the rear compartment sill plate.
9. Close the rear compartment.